Каталог запасных частей к технике: БелАЗ-7547. Привод управления подачей топлива самосвала БелАЗ-75473
1
2
3
4
5
6
7
8
9
9
9
10
10
10
10
10
11
11
11
11
11
12
12
12
12
12
12
12
12
12
12
13
14
15
16
16
16
16
16
16
17
18
19
20
21
22
22
23
24
25
26
26
27
28
29
30
31
32
33
34
35
36
37
38
39
40
41
42
43
44
45
46
47
48
49
50
51
52
53
54
55
56
57
58
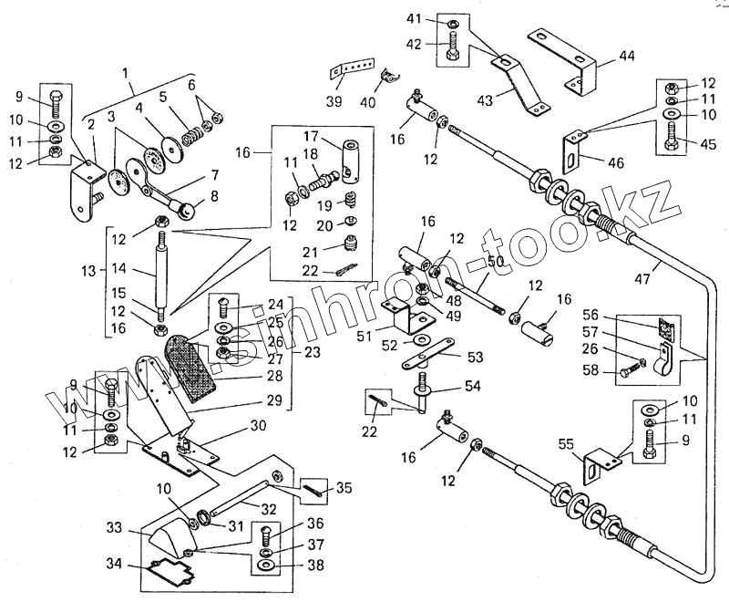
| Позиция на иллюстрации | Заводской номер детали | Название детали | |
|---|---|---|---|
| 1 | 549Б-1108280 | Рукоятка в сборе | |
| 2 | 540-1108286 | Кронштейн в сборе | |
| 3 | 540-1108279 | Шайба | |
| 4 | 540-1108284 | Шайба | |
| 5 | 501-3507084 | Пружина | |
| 6 | 374542 | Гайка | |
| 7 | 549Б-1108290 | Рукоятка | |
| 8 | 540-8101050 | Шарик | |
| 9 | 201456 | Болт | |
| 10 | 252005 | Шайба | |
| 11 | 252135 | Шайба | |
| 12 | 250510 | Гайка | |
| 13 | 75483-1108450 | Механизм толкающий | |
| 14 | 75481-1108452 | Труба толкателя | |
| 15 | 75481-1108472 | Тяга толкателя | |
| 16 | 500-1108138 | Наконечник в сборе | |
| 17 | 500-1108140 | Наконечник | |
| 18 | 500-1108148-01 | Палец шаровой | |
| 19 | 500-1108146 | Пружина | |
| 20 | 500-1108142 | Сухарь | |
| 21 | 500-1108144 | Пробка | |
| 22 | 258003 | Шплинт | |
| 23 | 75481-1108010 | Педаль с накладкой и упором | |
| 24 | 224624 | Винт | |
| 25 | 252004 | Шайба | |
| 26 | 252134 | Шайба | |
| 27 | 250508 | Гайка | |
| 28 | 549-1108016 | Накладка педали | |
| 29 | 75481-1108011 | Педаль с упором | |
| 30 | 75181-1108025-10 | Кронштейн педали | |
| 31 | 5336-1108161 | Кольцо | |
| 32 | 75481-1108156 | Ось | |
| 33 | 5336-1108058 | Крышка | |
| 34 | 5336-1108059 | Прокладка | |
| 35 | 258039 | Шплинт | |
| 36 | 220079 | Винт | |
| 37 | 252133 | Шайба | |
| 38 | 252003 | Шайба | |
| 39 | 75483-1108277 | Пластина | |
| 40 | 540-1115043 | Пружина | |
| 41 | 252136 | Шайба | |
| 42 | Болт | Болт | |
| 43 | 78211-1108074 | Кронштейн | |
| 44 | 75483-1108066 | Кронштейн | |
| 45 | 201458 | Болт | |
| 46 | 75483-1108082 | Кронштейн | |
| 47 | 75404-1108210-10 | Трос | |
| 48 | 250514 | Гайка | |
| 49 | 252137 | Шайба | |
| 50 | 75481-1108050 | Тяга | |
| 51 | 75481-1108170 | Кронштейн | |
| 52 | 252007 | Шайба | |
| 53 | 75483-1108071 | Рычаг | |
| 54 | 540М-3514476 | Ось | |
| 55 | 75481-1108082 | Кронштейн | |
| 56 | 548А-1104696-01 | Прокладка | |
| 57 | 315407 | Кляммер | |
| 58 | 201418 | Болт |
Содержащиеся в справочниках-каталогах запасные части и детали не предлагаются к продаже, а носят исключительно информационный характер