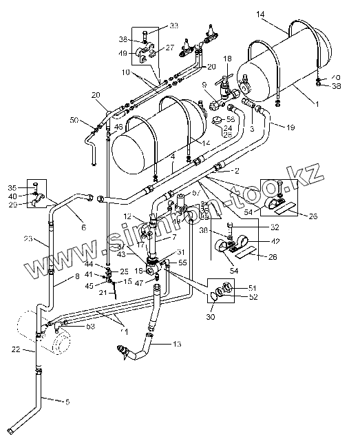
Каталог запасных частей к технике: БелАЗ-75306. Установка системы пневмостартерного пуска
1
2
3
4
5
6
7
8
9
10
11
12
13
14
14
15
16
17
18
19
20
20
21
22
23
24
25
26
26
27
28
29
30
31
32
33
34
35
36
37
38
38
38
39
40
40
41
42
43
44
45
46
47
48
49
50
51
52
53
54
54
55
56
57
| Позиция на иллюстрации | Заводской номер детали | Название детали | |
|---|---|---|---|
| 1 | 7549-1031010 | Баллон воздушный с кронштейном | |
| 2 | 75306-1031200-10 | Трубопровод | |
| 3 | 7512-1031220 | Трубопровод | |
| 4 | 75306-1031220-10 | Трубопровод | |
| 5 | 75306-1031250-10 | Трубопровод | |
| 6 | 75306-1031230 | Трубопровод | |
| 7 | 75306-1031250 | Трубопровод | |
| 8 | 75306-1031260 | Трубопровод | |
| 9 | 7530-1031270 | Трубопровод | |
| 10 | 7512-1031298 | Трубка | |
| 11 | 7549-1031440 | Воздухопровод | |
| 12 | 7549-1031442 | Воздухопровод | |
| 13 | 75306-1031450-10 | Патрубок | |
| 14 | 7549-1031460 | Хомут | |
| 15 | 75600-1031490 | Крышка | |
| 16 | 7549-1032180 | Клапан пусковой | |
| 17 | 75306-1032200 | Фильтр | |
| 18 | 75211-1032800-10 | Кран | |
| 19 | 7547-1719360 | Рукав | |
| 20 | 75405-3506080 | Шланг (5336-3506085-01) | |
| 21 | 75213-8608750 | Цепочка | |
| 22 | 7523-8609380-01 | Рукав высокого давления | |
| 23 | 7549-8609681 | Рукав высокого давления | |
| 24 | 7530-1031036 | Приставка | |
| 25 | 75600-1031496 | Пластина | |
| 26 | 548А-1104694-01 | Прокладка | |
| 27 | 540А-3506988 | Вкладыш | |
| 28 | 549А-3810626 | Прокладка | |
| 29 | 7521-8609135 | Скоба | |
| 30 | 020-025-30-2-2 | Кольцо | |
| 31 | 045-050-30-2-2 | Кольцо | |
| 32 | 201418 | Болт | |
| 33 | 201422 | Болт | |
| 34 | 201469 | Болт М8х66 | |
| 35 | 201502 | Болт | |
| 36 | 250510 | Гайка | |
| 37 | 250512 | Гайка | |
| 38 | 252134 | Шайба | |
| 39 | 252135 | Шайба | |
| 40 | 252136 | Шайба | |
| 41 | 262541 | Пробка | |
| 42 | 315409 | Кляммер | |
| 43 | 341003 | Шпилька | |
| 44 | 342444 | Гайка | |
| 45 | 344133 | Угольник | |
| 46 | 344212 | Тройник | |
| 47 | 344270 | Штуцер | |
| 48 | 344529 | Угольник | |
| 49 | 344662 | Скоба | |
| 50 | 344757 | Ниппель | |
| 51 | 374939 | Гайка | |
| 52 | 376145 | Шайба защитная | |
| 53 | 379053 | Угольник | |
| 54 | 379169 | Кляммер | |
| 55 | 402741 | Угольник | |
| 56 | МПЗ-У-2,5МПа | Манометр | |
| 57 | КЭМ-18 | Клапан электромагнитный |
Содержащиеся в справочниках-каталогах запасные части и детали не предлагаются к продаже, а носят исключительно информационный характер