Каталог запасных частей к технике: БелАЗ-75306. Контроллер тормозной
1
2
2
2
2
2
2
3
3
4
5
6
7
7
8
9
10
11
12
13
14
14
15
15
16
17
17
18
18
18
19
19
20
21
22
23
24
24
25
25
26
27
28
29
30
31
32
33
34
35
36
37
38
38
39
40
41
42
43
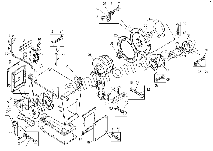
| Позиция на иллюстрации | Заводской номер детали | Название детали | |
|---|---|---|---|
| 1 | 201424 | Болт | |
| 2 | 252134 | Шайба | |
| 3 | 250508 | Гайка | |
| 4 | 549А-2108654 | Рычаг | |
| 5 | 343800 | Шпонка | |
| 6 | 7519-2108236-01 | Кронштейн | |
| 7 | 201422 | Болт | |
| 8 | 252004 | Шайба | |
| 9 | 549А-2108503 | Крышка | |
| 10 | 549А-2108506 | Прокладка | |
| 11 | 549-2108484 | Крышка | |
| 12 | 549-2108486 | Прокладка | |
| 13 | 549А-2108220 | Корпус | |
| 14 | 549А-2108496 | Прокладка | |
| 15 | 549А-2108492 | Крышка | |
| 16 | 549АС-2108247 | Кольцо | |
| 17 | 6ТД.687.012-01 | Элемент кулачковый | |
| 18 | 549А-2108262 | Кронштейн | |
| 19 | 549А-2108302 | Рейка | |
| 20 | 75306-2114030 | Жгут проводов | |
| 21 | 201418 | Болт | |
| 22 | 549А-2108700 | Кронштейн | |
| 23 | 220051 | Винт | |
| 24 | 252132 | Шайба | |
| 25 | 60203К | Подшипник | |
| 26 | 7519-2108630 | Барабан кулачковый | |
| 27 | 315407 | Кляммер | |
| 28 | 549-2108478 | Прокладка | |
| 29 | 7519-2108474 | Крышка | |
| 30 | 7519-2108720 | Фланец | |
| 31 | 7519-2108739 | Кольцо | |
| 32 | 220077 | Винт | |
| 33 | 75131-2108620 | Крышка | |
| 34 | 220053 | Винт | |
| 35 | 75131-2108614-20 | Датчик в сборе | |
| 36 | 75131-2108730 | Стакан | |
| 37 | 250462 | Гайка | |
| 38 | 252135 | Шайба | |
| 39 | 252038 | Шайба | |
| 40 | 201454 | Болт | |
| 41 | 220103 | Винт | |
| 42 | 201458 | Болт | |
| 43 | 250464 | Гайка |
Содержащиеся в справочниках-каталогах запасные части и детали не предлагаются к продаже, а носят исключительно информационный характер