Каталог запасных частей к технике: БелАЗ-7513. Система выпуска отработавших газов самосвала БелАЗ-75131
1
2
2
3
4
4
4
4
4
4
5
5
5
5
5
5
5
5
6
6
6
6
6
6
7
7
7
7
8
9
10
11
11
11
11
11
11
12
13
13
14
14
15
16
17
17
18
18
19
19
20
20
21
21
22
22
23
23
24
24
25
25
26
27
28
29
30
31
31
32
32
33
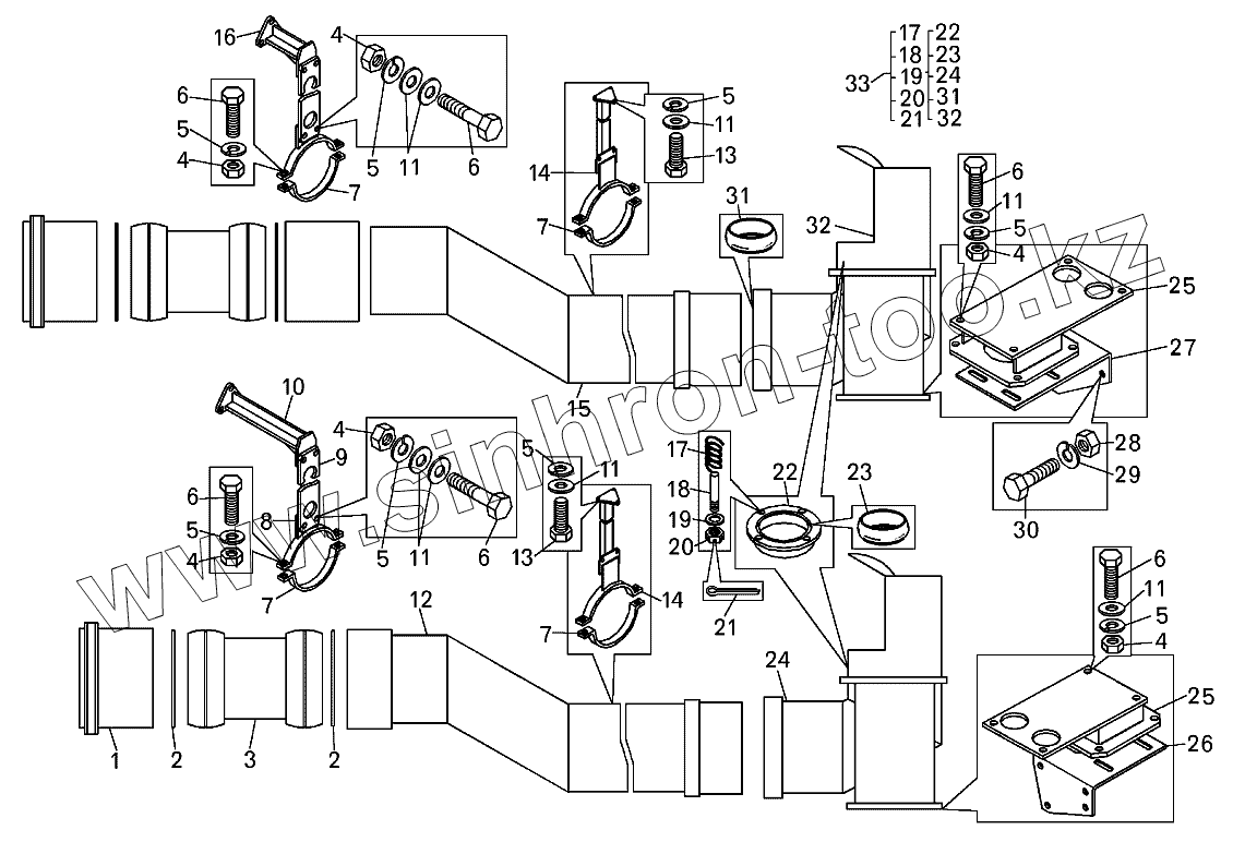
| Позиция на иллюстрации | Заводской номер детали | Название детали | |
|---|---|---|---|
| 75131-1203140 | 75131-1203140 | Труба с уплотняющим устройством правая | |
| 1 | 75131-1203014 | Патрубок | |
| 2 | 75125-1203018 | Кольцо | |
| 3 | 75125-1203115 | Шарнир | |
| 4 | 250514 | Гайка | |
| 5 | 252137 | Шайба | |
| 6 | 201542 | Болт | |
| 7 | 75553-1203114 | Хомут | |
| 8 | 75131-1203110 | Кронштейн | |
| 9 | 75131-1203058 | Кронштейн | |
| 10 | 75131-1203401 | Кронштейн левый | |
| 11 | 252045 | Шайба | |
| 12 | 75131-1203014 | Патрубок | |
| 13 | 201540 | Болт | |
| 14 | 75131-1203370 | Кронштейн | |
| 15 | 75131-1203010 | Труба выхлопная правая | |
| 16 | 75191-1203400 | Кронштейн правый | |
| 17 | 540-8402532 | Пружина застежки | |
| 18 | 549-1203614 | Шпилька специальная | |
| 19 | 252039 | Шайба | |
| 20 | 250868 | Гайка | |
| 21 | 258039 | Шплинт | |
| 22 | 75131-1203621 | Корпус шарнира | |
| 23 | 549Б-1203646 | Кольцо | |
| 24 | 75131-1203151 | Труба входная | |
| 25 | 75131-1203650 | Кронштейн | |
| 26 | 75131-1203251 | Кронштейн левый | |
| 27 | 75131-1203250 | Кронштейн правый | |
| 28 | 250558 | Гайка | |
| 29 | 252138 | Шайба | |
| 30 | 340378 | Болт | |
| 31 | 75553-1203646 | Кольцо | |
| 32 | 75131-1203150 | Труба входная | |
| 33 | 75131-1203141 | Труба с уплотняющим устройством левая |
Содержащиеся в справочниках-каталогах запасные части и детали не предлагаются к продаже, а носят исключительно информационный характер