Вернуться на главную
Поиск
Каталоги запчастей к технике
Грузовые автомобили и прицепы
БелАЗ
БелАЗ-7513
Система пневмостартерного пуска двигателя самосвала БелАЗ-75131
Каталог запасных частей к технике: БелАЗ-7513. Система пневмостартерного пуска двигателя самосвала БелАЗ-75131
zoom-in
zoom-out
enlarge
shrink
circle-right
circle-left
file-text2
info
cart
Тип техники
Не выбрано
Легковые автомобили
Грузовые автомобили и прицепы
Автобусы
Сельхозтехника
Спецтехника
Двигатели
Мототехника
Марка
Не выбрано
BAW
DAF
DongFeng
FAW
Foton
HOWO
Hyundai
IVECO
JAC Motors
LGMG
MAN
Shaanxi
SITRAK
Studebaker
Tata
Volvo
Автокомпонент Плюс
БелАЗ
Брянский Арсенал
ГАЗ
ЗИЛ
КАЗ
Камский автозавод
КрАЗ
Мадара
МАЗ
МЗКТ
МоАЗ
Нефтекамский автозавод
Ставропольский Завод АвтоПрицепов
ТАТРА
Тонар
УралАЗ
ЧМЗАП
Модель
Не выбрано
75131 (2016)
75131 (2017)
75302, 75306, 75307, 75309 (2016)
7540 (А, В, Е, С, D, К) (2015)
75450 (2010)
7547, 75473 (2014)
75581, 75583 (2015)
76470 (дополнение) (2017)
БелАЗ-540А (1975)
БелАЗ-7512 (2002)
БелАЗ-7513 (2002)
БелАЗ-75131 (2008)
БелАЗ-75131 (2012)
БелАЗ-75131 (доп. к каталогу) (2015)
БелАЗ-7522
БелАЗ-7523
БелАЗ-75231
БелАЗ-75306 (2010)
БелАЗ-7540
БелАЗ-75401
БелАЗ-7540B (2009)
БелАЗ-7540C (2009)
БелАЗ-7540D (2009)
БелАЗ-7540K (2009)
БелАЗ-7540А (2009)
БелАЗ-7547
БелАЗ-7548А (2000)
БелАЗ-7549 (2002)
БелАЗ-7555A
БелАЗ-75600 (2010)
БелАЗ-76470 (2012)
Общий (см. мод-ции)
Схема
>
Не выбрано
Установка кабины
Кабина
Установка стеклоочистителей и стеклоомывателя
Панель приборов самосвала БелАЗ-75131
Панель приборов самосвала БелАЗ-75132
Панель приборов тягового электропривода
Панели с диодами самосвала БелАЗ-75131
Панели с диодами самосвала БелАЗ-75132
Установка сидений
Комплект чехлов
Дверь кабины
Установка кожуха пола
Установка площадок и поручней моторного отсека и топливного бака
Установка зеркал заднего вида и кронштейнов их крепления
Установка зеркал заднего вида и кронштейнов их крепления
Установка противосолнечного козырька
Капоты и оперение
Установка кронштейнов зеркал
Установка зеркал заднего вида
Установка кондиционера
Установка кондиционера
Установка трубопроводов кондиционера
Отопитель кабины и его установка
Отопитель кабины
Установка фильтра кабины СОВ-02
Платформа
Установка платформы, камневыталкивателей и брызговиков
Установка цилиндров опрокидывающего механизма
Установка цилиндров опрокидывающего механизма
Цилиндр опрокидывающего механизма
Цилиндр опрокидывающего механизма
Трубопроводы опрокидывающего механизма самосвала БелАЗ-75131
Трубопроводы опрокидывающего механизма самосвала БелАЗ-75131
Трубопроводы опрокидывающего механизма самосвала БелАЗ-75132
Блок управления
Блок управления
Гидрораспределитель
Гидрораспределитель
Клапан вспомогательный
Блок обратных клапанов
Клапан
Бак масляный и фильтр
Бак масляный и фильтр
Фильтр
Детали масляного бака
Детали масляного бака
Установка насосов
Установка насосов
Установка системы контроля загрузки
Установка системы контроля загрузки
Установка дизель-генератора на самосвале БелАЗ-75131
Дизель-генератор самосвала БелАЗ-75131
Установка дизель-генератора на самосвале БелАЗ-75132
Генератор тяговый ГС525
Электродвигатель тяговый с тормозными механизмами
Установка воздушных фильтров двигателя на самосвале БелАЗ-75131
Установка воздушных фильтров двигателя на самосвале БелАЗ-75132
Фильтр воздушный
Топливные трубопроводы
Бак топливный
Электронагреватель топливного бака
Насос топливный
Обогреватель топлива с фильтром
Привод управления подачей топлива самосвала БелАЗ-75132
Педаль привода управления подачей топлива самосвала БелАЗ-75131
Система выпуска отработавших газов самосвала БелАЗ-75131
Система выпуска отработавших газов самосвала БелАЗ-75132
Блок радиаторов и кожух вентилятора
Блок радиаторов
Радиатор
Трубопроводы системы охлаждения двигателя самосвала БелАЗ-75131
Трубопроводы системы охлаждения двигателя самосвала БелАЗ-75132
Кран сливной
Жалюзи радиаторов и их привод
Жалюзи радиаторов
Пневмопереключатель
Мост задний
Мост задний
Рама
Установка брызговиков двигателя
Установка передней подвески
Установка передней подвески
Установка задней подвески
Установка задней подвески
Цилиндр подвески передний
Цилиндр подвески передний
Крышка переднего цилиндра подвески верхняя
Крышка переднего цилиндра подвески верхняя
Крышка переднего цилиндра подвески нижняя
Крышка переднего цилиндра подвески нижняя
Цилиндр подвески задний
Цилиндр подвески задний
Крышка заднего цилиндра подвески верхняя
Крышка заднего цилиндра подвески верхняя
Крышка заднего цилиндра подвески нижняя
Крышка заднего цилиндра подвески нижняя
Насос
Насос
Ось передняя с тормозами
Ось передняя с тормозами
Электромотор-колесо
Электромотор-колесо
Редуктор электромотор-колеса
Редуктор электромотор-колеса
Ряд первый редуктора электромотор-колеса
Ряд первый редуктора электромотор-колеса
Ступица электромотор-колеса
Ступица электромотор-колеса
Колесо переднее с тормозами и поворотным механизмом
Колесо переднее с тормозами и поворотным механизмом
Привод спидометра
Колеса и детали их крепления
Детали колес
Установка рулевого управления
Кронштейн с колонкой
Рулевая колонка
Вал карданный
Трубопроводы рулевого управления
Тяга рулевой трапеции
Цилиндр поворота
Коллектор
Фильтр
Пневмогидроаккумулятор
Монтаж трубопроводов компрессора на самосвале БелАЗ-75131
Монтаж трубопроводов компрессора на самосвале БелАЗ-75132
Водоотделитель
Регулятор давления
Клапан защитный одинарный
Клапан предохранительный
Противозамерзатель
Монтаж гидравлического привода тормозов
Клапан разности давлений и клапан соединительный
Кран управления тормозами
Кран управления стояночным тормозом
Пневмогидроаккумулятор
Реле давления
Установка фар и подфарников
Установка фар и подфарников
Установка задних фонарей и задней фары
Установка задних фонарей и задней фары
Установка электрооборудования
Вентилируемая тормозная установка
Вентилятор
Секция резистора
Установка датчика частоты вращения двигателя
Установка вентилятора охлаждения тяговых электромашин
Всасывающие воздухопроводы охлаждения электрических машин самосвала БелАЗ-75131
Всасывающие воздухопроводы охлаждения электрических машин самосвала БелАЗ-75132
Нагнетательные воздухопроводы охлаждения тяговых электродвигателей самосвала БелАЗ-75131
Нагнетательные воздухопроводы охлаждения тяговых электродвигателей самосвала БелАЗ-75132
Привод ходового контроллера
Контроллер ходовой
Привод тормозного контроллера
Контроллер тормозной
Установка генератора
Монтаж электрооборудования в кабине самосвала БелАЗ-75131
Монтаж электрооборудования в кабине самосвала БелАЗ-75131
Монтаж электрооборудования в кабине самосвала БелАЗ-75132
Установка аккумуляторных батарей
Установка аккумуляторных батарей и монтаж проводов
Монтаж электрооборудования и проводов на шасси самосвала БелАЗ-75131
Монтаж электрооборудования и проводов на шасси самосвала БелАЗ-75131
Монтаж электрооборудования и проводов на шасси самосвала БелАЗ-75132
Силовые провода и детали их крепления самосвала БелАЗ-75131
Силовые провода и детали их крепления самосвала БелАЗ-75132
Установка коробки отбора мощности
Картер и вал привода насоса самосвала БелАЗ-75131
Картер, промежуточный вал, вал привода генератора и вал привода насоса самосвала БелАЗ-75132
Вал ведущий и валы привода насосов самосвалов БелАЗ-75131, -75132
Вал карданный самосвала БелАЗ-75131
Вал карданный самосвала БелАЗ-75132
Установка предпускового подогревателя на самосвале БелАЗ-75131
Установка предпускового подогревателя на самосвале БелАЗ-75132
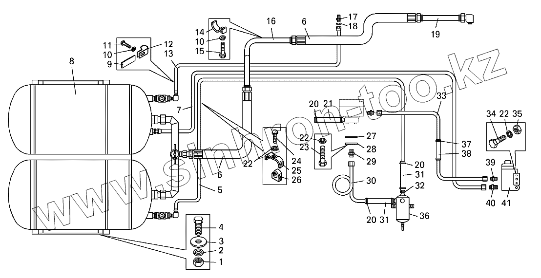
Система пневмостартерного пуска двигателя самосвала БелАЗ-75131
Система пневмостартерного пуска двигателя самосвала БелАЗ-75132
Баллоны воздушные самосвала БелАЗ-75131
Баллоны воздушные самосвала БелАЗ-75132
Клапан пусковой
Кран запорный
Дозатор смазки
Клапан защитный одинарный
Пневмостартер
Пневмодвигатель
Привод пневмостартера
Система пожаротушения
Установка огнетушителей
Карьерный самосвал БелАЗ-75131
Комплект инструмента и принадлежностей
Инструмент специальный (комплект на 5 самосвалов)
Комплект съемников (комплект на 5 самосвалов)
Подшипники
Подшипники
1
2
3
4
5
6
6
7
8
9
10
10
11
12
13
14
15
16
17
18
19
20
20
20
21
22
22
22
23
24
25
26
27
28
29
30
31
31
32
33
34
35
36
37
38
39
40
41
Позиция на иллюстрации
Заводской номер детали
Название детали
1
250514
Гайка
2
252137
Шайба
3
252045
Шайба
4
201543
Болт
5
75124-3509254-10
Трубка
6
548П-1719430
Шланг в сборе
7
7512-1031300
Трубка
8
7513-1031010
Баллон воздушный с кронштейном
9
548А-1104694-01
Прокладка
10
252136
Шайба
11
201493
Болт
12
344614
Кляммер
13
7512-1031298
Трубка
14
7521-8609135
Скоба
15
200317
Болт
16
75131-1031200
Трубопровод
17
540-3506020
Переходник
18
342444
Гайка
19
75131-1031250
Трубопровод
20
344423
Хомут 35
21
75211-1104212
Шланг
22
252135
Шайба
23
201458
Болт
24
201424
Болт
25
344662
Скоба
26
540А-3506989
Вкладыш
27
75124-3509304
Прокладка
28
75125-3509302
Фланец
29
379355
Штуцер
30
75125-3509330
Охладитель
31
549Б-3509314
Рукав всасывающий
32
75125-3513166
Переходник
33
7519-3506662
Трубка
34
340064
Накладка
35
250510
Гайка
36
75125-3513150
Бачок сливной
37
344420
Хомут 20 в сборе
38
540-1303067
Шланг
39
379497
Штуцер
40
344771
Ниппель
41
181461
Регулятор компрессора
Содержащиеся в справочниках-каталогах запасные части и детали не предлагаются к продаже, а носят исключительно информационный характер
Дополнительная информация
×
Название:
Номер:
Примечание: