Вернуться на главную
Поиск
Каталоги запчастей к технике
Грузовые автомобили и прицепы
БелАЗ
БелАЗ-75131
Установка воздушных фильтров
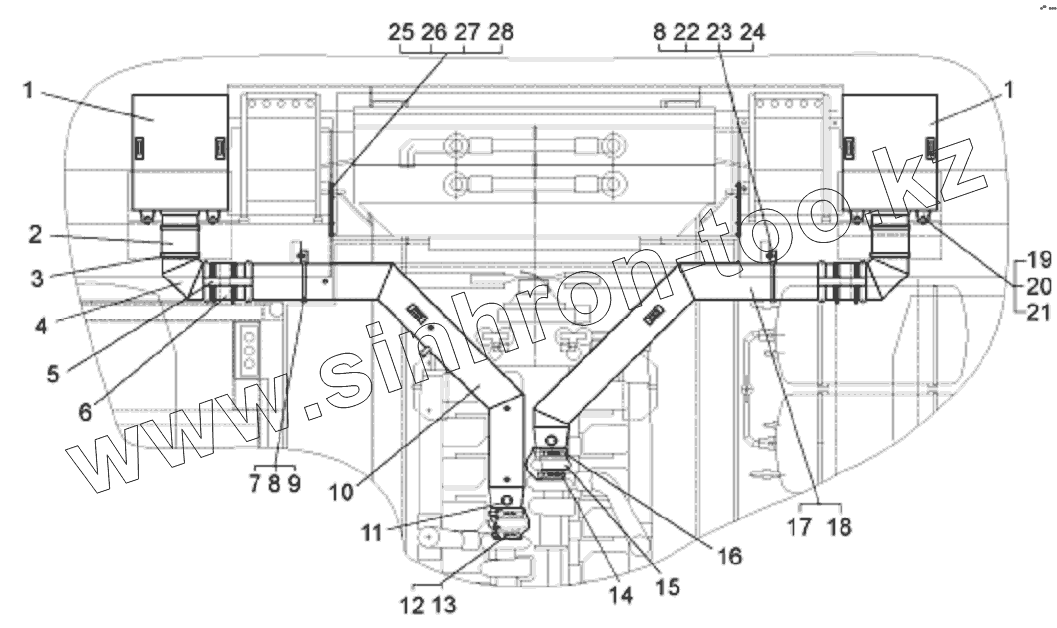
Каталог запасных частей к технике: БелАЗ-75131. Установка воздушных фильтров
zoom-in
zoom-out
enlarge
shrink
circle-right
circle-left
file-text2
info
cart
Тип техники
Не выбрано
Легковые автомобили
Грузовые автомобили и прицепы
Автобусы
Сельхозтехника
Спецтехника
Двигатели
Мототехника
Марка
Не выбрано
BAW
DAF
DongFeng
FAW
Foton
HOWO
Hyundai
IVECO
JAC Motors
LGMG
MAN
Shaanxi
SITRAK
Studebaker
Tata
Volvo
Автокомпонент Плюс
БелАЗ
Брянский Арсенал
ГАЗ
ЗИЛ
КАЗ
Камский автозавод
КрАЗ
Мадара
МАЗ
МЗКТ
МоАЗ
Нефтекамский автозавод
Ставропольский Завод АвтоПрицепов
ТАТРА
Тонар
УралАЗ
ЧМЗАП
Модель
Не выбрано
75131 (2016)
75131 (2017)
75302, 75306, 75307, 75309 (2016)
7540 (А, В, Е, С, D, К) (2015)
75450 (2010)
7547, 75473 (2014)
75581, 75583 (2015)
76470 (дополнение) (2017)
БелАЗ-540А (1975)
БелАЗ-7512 (2002)
БелАЗ-7513 (2002)
БелАЗ-75131 (2008)
БелАЗ-75131 (2012)
БелАЗ-75131 (доп. к каталогу) (2015)
БелАЗ-7522
БелАЗ-7523
БелАЗ-75231
БелАЗ-75306 (2010)
БелАЗ-7540
БелАЗ-75401
БелАЗ-7540B (2009)
БелАЗ-7540C (2009)
БелАЗ-7540D (2009)
БелАЗ-7540K (2009)
БелАЗ-7540А (2009)
БелАЗ-7547
БелАЗ-7548А (2000)
БелАЗ-7549 (2002)
БелАЗ-7555A
БелАЗ-75600 (2010)
БелАЗ-76470 (2012)
Общий (см. мод-ции)
Схема
>
Не выбрано
Установка кабины на шасси
Кабина
Кабина. Установка приборных панелей и кронштейнов педалей
Кабина. Установка декоративных панелей и дверцы шкафа
Дверь кабины
Окно раздвижное
Панель приборов
Установка кожуха пола
Установка стеклоочистителей и стеклоомывателя
Установка сидений
Установка площадок и поручней
Установка отопителя кабины
Установка салонного фильтра
Отопитель кабины
Установка трубопроводов отопителя кабины
Установка вентилятора кабины
Установка зеркал заднего вида
Установка кронштейнов зеркал
Установка противосолнечного козырька
Капоты и оперение
Установка платформы, камневыталкивателей и брызговиков
Установка цилиндров опрокидывающего механизма
Цилиндр опрокидывающего механизма
Трубопроводы опрокидывающего механизма
Блок управления
Гидрораспределитель
Клапан вспомогательный
Клапан предохранительный
Клапан
Клапан
Фильтр
Коллектор сливной
Автомат разгрузки насоса
Блок управления
Клапан двухмагистральный
Установка насоса и карданного вала
Установка масляного бака
Бак масляный
Датчик аварийного уровня масла
Установка выключателя
Установка дизель – генератора
Дизель – генератор
Установка системы пневмостартерного пуска двигателя
Баллон воздушный с кронштейном
Кран запорный
Клапан защитный одинарный
Установка предпускового подогревателя
Установка топливного бака
Бак топливный
Бак топливный (с системой заправки «Wiggins»)
Установка воздушных фильтров
Установка воздушных фильтров с системой очистки "Flitguard"
Фильтр воздушный
Фильтр воздушный
Топливные трубопроводы
Топливные трубопроводы с фильтрами "Flitguard"
Насос топливный
Обогреватель топлива с фильтром
Педаль привода управления подачей топлива
Установка системы выпуска отработавших газов
Установка блока радиаторов и кожухов защитных
Блок радиаторов с кожухом вентилятора
Блок радиаторов с жалюзи
Радиатор
Трубопроводы системы охлаждения двигателя
Кран сливной
Установка привода жалюзи радиатора
Пневмопереключатель
Жалюзи радиатора
Установка электрооборудования
Шкаф с пускорегулирующей аппаратурой (главный вид)
Вентилируемая тормозная установка
Вентилятор
Секция резистора
Установка вентилятора охлаждения тяговых электромашин
Установка всасывающих воздухопроводов
Установка нагнетательных воздухопроводов
Установка ходового командоконтроллера
Вал акселератора
Командоконтроллер ходовой
Установка тормозного командоконтроллера
Вал с кронштейном
Командоконтроллер тормозной
Силовые провода и детали их крепления на шасси
Мост ведущий
Электромотор-колесо
Электродвигатель тяговый ЭД 136 с тормозными механизмами
Электродвигатели тяговые ЭК-420, ЭК-590, ТЭД-6 с тормозными механизмами
Редуктор электромотор-колеса
Фильтр
Ряд первый редуктора электромотор-колеса
Ступица электромотор-колеса
Рама
Установка брызговиков двигателя
Установка передней подвески
Установка задней подвески
Цилиндр подвески передний
Крышка переднего цилиндра подвески верхняя
Крышка переднего цилиндра подвески нижняя
Цилиндр подвески задний
Крышка заднего цилиндра подвески верхняя
Крышка заднего цилиндра подвески нижняя
Насос
Ось передняя с тормозами
Кулак поворотный с тормозами и поворотным механизмом
Колеса и детали их крепления
Детали колес
Установка рулевого управления
Колонка рулевая с кронштейном
Колонка рулевого управления
Вал карданный рулевого управления
Трубопроводы рулевого управления
Тяга рулевой трапеции
Цилиндры поворота
Коллектор
Пневмогидроаккумулятор
Монтаж гидравлического привода тормозов
Клапан соединительный
Кран управления тормозами
Двойной защитный клапан
Кран управления стояночным тормозом
Пневмогидроаккумулятор
Реле давления
Монтаж трубопроводов компрессора
Монтаж электрооборудования на шасси (без рисунка)
Монтаж электрооборудования в кабине
Установка фар и подфарников
Установка задних фонарей и фар
Установка аккумуляторных батарей и монтаж проводов
Монтаж проводов кондиционера
Монтаж системы контроля давления в шинах
Установка электрооборудования зеркал с электроподогревом
Установка панели приборов
Комплект инструмента и принадлежностей
Инструмент специальный на 5 машин
Комплект съёмников
Установка системы пожаротушения
Подшипники
1
1
2
3
4
5
6
7
8
8
9
10
11
12
13
14
15
16
17
18
19
20
21
22
23
24
25
26
27
28
Позиция на иллюстрации
Заводской номер детали
Название детали
1
75131-1109010
Фильтр воздушный в сборе
2
7513-1109248
Шланг
3
7549-1109580
Хомут
4
75125-1109226
Трубопровод
5
75125-1109114
Опора
6
75125-1109248
Шланг
7
548А-1013465
Хомут
8
250512
Гайка
9
252156
Шайба
10
75131-1109163
Трубопровод левый
11
ДСФ-65
Датчик засоренности воздушных фильтров
12
3631821
Чехол термозащитный
13
258302
Шплинт 1,6х300
14
125741
Хомут
15
3030768
Патрубок
16
125742
Хомут
17
75131-1109162
Трубопровод правый
18
75125-1109360
Кронштейн правый
19
202119
Болт
20
252047
Шайба
21
252139
Шайба
22
201499
Болт
23
252039
Шайба
24
252136
Шайба
25
201454
Болт
26
7513-1109666
Крышка
27
252005
Шайба
28
252135
Шайба
Содержащиеся в справочниках-каталогах запасные части и детали не предлагаются к продаже, а носят исключительно информационный характер
Дополнительная информация
×
Название:
Номер:
Примечание: