Каталог запасных частей к технике: BAW BJ 1044/1065. Гидроусилитель рулевого управления
1
1
2
2
2
3
3
3
4
4
4
5
6
7
7
8
8
9
9
9
9
10
11
11
11
12
12
12
13
13
14
15
15
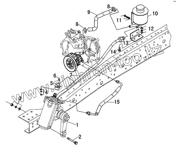
| Позиция на иллюстрации | Заводской номер детали | Название детали | |
|---|---|---|---|
| 1 | ВР10653411001 | Рулевой механизм в сборе | |
| 1 | ВР10443411201 | Рулевой механизм в сборе | |
| 2 | Q150В1260 | Болт | |
| 2 | Q150В1235 | Болт | |
| 2 | Q150В1230 | Болт | |
| 3 | Q40112 | Шайба плоская | |
| 3 | Q40312 | Шайба пружинная | |
| 3 | Q340В12 | Гайка | |
| 4 | Q40312 | Шайба пружинная | |
| 4 | Q340В12 | Гайка | |
| 4 | Q40112 | Шайба плоская | |
| 5 | ВР10443560307 | Зажим трубки | |
| 6 | Q150В0825 | Болт | |
| 7 | ВР10443406205 | Трубка ГУР, в сборе, сливная | |
| 7 | ВР10653406104 | Трубка ГУР, в сборе, сливная | |
| 8 | Q67535 | Хомут | |
| 9 | ВР10443406202 | Трубка подводящая | |
| 9 | ВР10653406101 | Трубка подводящая | |
| 9 | ВР10443406207 | Трубка подводящая | |
| 9 | ВР10443406206 | Трубка подводящая | |
| 10 | ВР10863400054 | Бачок | |
| 11 | Q150В0820 | Болт | |
| 11 | Q4008 | Шайба плоская | |
| 11 | Q40308 | Шайба пружинная | |
| 12 | Q40108 | Шайба плоская | |
| 12 | Q40308 | Шайба пружинная | |
| 12 | Q340В08 | Гайка | |
| 13 | ВР10863400301 | Кронштейн бачка | |
| 13 | ВР10443408202 | Кронштейн бачка | |
| 14 | Q150В0825 | Болт | |
| 15 | ВР10653406103 | Трубка высокого давления | |
| 15 | ВР10443406203 | Трубка высокого давления |
Содержащиеся в справочниках-каталогах запасные части и детали не предлагаются к продаже, а носят исключительно информационный характер