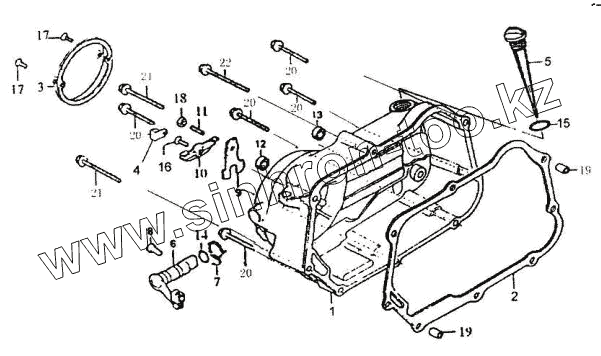
Каталог запасных частей к технике: ЗиД Двигатель 1Р39FMB-Н. Правая крышка картера
1
2
3
4
5
6
7
8
9
10
11
12
13
14
15
16
17
17
18
19
19
20
20
20
20
20
21
21
22
| Позиция на иллюстрации | Заводской номер детали | Название детали | |
|---|---|---|---|
| 1 | 11310/1P50FMG | Правая крышка картера | |
| 2 | 11319/1P50FMG | Прокладка | |
| 3 | 11331/1P50FMG | Кожух крышки сцепления | |
| 4 | 34931/1P50FMG | Фиксатор провода катушки зажигания | |
| 5 | 15611/1P50FMG | Указатель уровня | |
| 6 | 22810/1P50FMG | Рычаг привода сцепления | |
| 7 | 22821/1P50FMG | Пружина | |
| 8 | 22825/1P50FMG | Штифт | |
| 9 | 22926/1P50FMG | Кронштейн сцепления | |
| 10 | 22827/1P50FMG | Кронштейн | |
| 11 | 22851/1P50FMG | Винт | |
| 12 | 22830/1P50FMG | Сальник 12х21х4 | |
| 13 | 27190/1P50FMG | Сальник 13,7х24х5 | |
| 14 | 22823/1Р50FMG | Уплотнительное кольцо | |
| 15 | 15612/1P50FMG | Уплотнительное кольцо | |
| 16 | GB/T 819. 1 | Винт М6х16 | |
| 17 | GB/Т 69 | Винт М5х12 | |
| 18 | GB/T 6170 | Гайка М6 | |
| 19 | 11318/1P50FMG | Штифт 8х12 | |
| 20 | GB/T 16674 | Болт М8х20 | |
| 21 | GB/T 16674 | Болт М8х20 | |
| 22 | GB/T 16674 | Болт М8х20 |
Содержащиеся в справочниках-каталогах запасные части и детали не предлагаются к продаже, а носят исключительно информационный характер