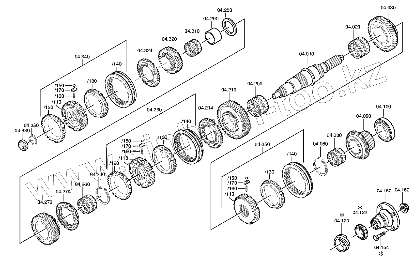
Каталог запасных частей к технике: ZF КПП ZF S5-42 для техники МАЗ. Коробка передач ZF S5-42 для техники МАЗ
10
20
30
50
60
60
60
60
60
60
60
60
60
60
60
60
60
80
90
100
100
122
150
160
200
210
214
230
240
240
240
240
240
240
240
240
240
240
240
240
240
260
270
274
280
290
310
320
324
340
350
350
350
350
350
380
10110
10110
10110
10120
10120
10130
10130
10130
10140
10140
10140
10150
10150
10150
10160
10160
10160
10170
10170
10170
| Позиция на иллюстрации | Заводской номер детали | Название детали | |
|---|---|---|---|
| 10 | 1307.304.623 | MAIN SHAFT | |
| 20 | 0735.320.873 | NEEDLE CAGE | |
| 30 | 1307.304.649 | HELICAL GEAR | |
| 50 | 1307.204.293 | SYNCHRONIZER | |
| 60 | 0730.501.264 | RETAINING RING | |
| 60 | 0730.501.540 | RETAINING RING | |
| 60 | 0730.501.265 | RETAINING RING | |
| 60 | 0730.501.541 | RETAINING RING | |
| 60 | 0730.501.542 | RETAINING RING | |
| 60 | 0730.501.543 | RETAINING RING | |
| 60 | 0730.501.299 | RETAINING RING | |
| 60 | 0730.501.544 | RETAINING RING | |
| 60 | 0730.501.314 | RETAINING RING | |
| 60 | 0730.501.506 | RETAINING RING | |
| 60 | 0730.501.405 | RETAINING RING | |
| 60 | 0730.501.406 | RETAINING RING | |
| 60 | 0730.501.407 | RETAINING RING | |
| 80 | 0735.321.010 | NEEDLE CAGE | |
| 90 | 1307.204.323 | HELICAL GEAR | |
| 100 | 1307.204.275 | TAROLLBEARING | |
| 100 | 1307.204.056 | TAROLLBEARING | |
| 122 | 1307.304.592 | PULSE DISC | |
| 150 | 1307.304.595 | Фланец выходной | |
| 160 | 1317.304.117 | LOCKING NUT | |
| 200 | 0735.320.873 | NEEDLE CAGE | |
| 210 | 1307.304.652 | HELICAL GEAR | |
| 214 | 1307.304.628 | CLUTCH BODY | |
| 230 | 1307.204.266 | SYNCHRONIZER | |
| 240 | 0730.501.541 | RETAINING RING | |
| 240 | 0730.501.506 | RETAINING RING | |
| 240 | 0730.501.405 | RETAINING RING | |
| 240 | 0730.501.406 | RETAINING RING | |
| 240 | 0730.501.407 | RETAINING RING | |
| 240 | 0730.501.314 | RETAINING RING | |
| 240 | 0730.501.544 | RETAINING RING | |
| 240 | 0730.501.299 | RETAINING RING | |
| 240 | 0730.501.543 | RETAINING RING | |
| 240 | 0730.501.542 | RETAINING RING | |
| 240 | 0730.501.265 | RETAINING RING | |
| 240 | 0730.501.540 | RETAINING RING | |
| 240 | 0730.501.264 | RETAINING RING | |
| 260 | 0735.320.871 | NEEDLE CAGE | |
| 270 | 1307.304.632 | HELICAL GEAR | |
| 274 | 1307.304.628 | CLUTCH BODY | |
| 280 | 0730.106.561 | WASHER | |
| 290 | 0730.162.428 | BUSH | |
| 310 | 0735.320.871 | NEEDLE CAGE | |
| 320 | 1307.304.638 | HELICAL GEAR | |
| 324 | 1307.304.626 | CLUTCH BODY | |
| 340 | 1307.204.317 | SYNCHRONIZER | |
| 350 | 0730.501.301 | RETAINING RING | |
| 350 | 0730.501.260 | RETAINING RING | |
| 350 | 0730.501.261 | RETAINING RING | |
| 350 | 0730.501.262 | RETAINING RING | |
| 350 | 0730.501.300 | RETAINING RING | |
| 380 | 0750.117.251 | TAROLLBEARING | |
| 10110 | 1307.204.230 | SYNCHROBODY | |
| 10110 | 1307.304.608 | SYNCHROBODY | |
| 10110 | 1307.304.607 | SYNCHROBODY | |
| 10120 | 1307.304.644 | SYNCHRORING | |
| 10120 | 1307.304.182 | SYNCHRORING | |
| 10130 | 1307.304.182 | SYNCHRORING | |
| 10130 | 1307.304.644 | SYNCHRORING | |
| 10130 | 1307.304.643 | SYNCHRORING | |
| 10140 | 1307.304.669 | SLIDING SLEEVE | |
| 10140 | 1307.304.671 | SLIDING SLEEVE | |
| 10140 | 1307.304.668 | SLIDING SLEEVE | |
| 10150 | 0635.460.010 | BALL | |
| 10150 | 0635.460.010 | BALL | |
| 10150 | 0635.460.010 | BALL | |
| 10160 | 0732.041.571 | COMPRSPRING | |
| 10160 | 0732.041.571 | COMPRSPRING | |
| 10160 | 0732.041.571 | COMPRSPRING | |
| 10170 | 1307.304.156 | PRESSURE PIECE | |
| 10170 | 1307.304.156 | PRESSURE PIECE | |
| 10170 | 1307.304.156 | PRESSURE PIECE |
Содержащиеся в справочниках-каталогах запасные части и детали не предлагаются к продаже, а носят исключительно информационный характер