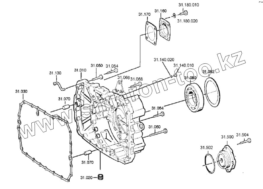
Каталог запасных частей к технике: ZF КПП ZF 8S-1350. GP HOUSING, COVER 0091131036, 0091131037
010
020
020
030
050
050
052
052
054
054
064
064
066
068
068
070
070
080
082
090.110
090.120
100
130
140.010
140.020
160
160
170
180.010
180.020
500
502
504
| Позиция на иллюстрации | Заводской номер детали | Название детали | |
|---|---|---|---|
| 010 | 0091301138 | Housing | |
| 020 | 0736303005 | Screw plug | |
| 030 | 1313301037 | Gasket | |
| 050 | 0636010168 | Hexagon screw | |
| 052 | 0636010168 | Hexagon screw | |
| 054 | 0636010168 | Hexagon screw | |
| 060 | 0636010190 | Hexagon screw | |
| 064 | 0636010494 | Hexagon screw | |
| 066 | 0091301115 | Support plate gear shift | |
| 068 | 0636010172 | Hexagon screw | |
| 070 | 0731201459 | Cylinder pin | |
| 080 | 0750116002 | Шариковый подшипник | |
| 082 | SHIM | SHIM | |
| 082.010 | 0730003515 | Шайба | |
| 082.020 | 4005302034 | Шайба | |
| 082.030 | 0730100115 | Шайба | |
| 082.040 | 0730100846 | Шайба | |
| 082.050 | 0730100116 | Шайба | |
| 090 | 0091231002 | Cover | |
| 090.110 | 0091301144 | Cover | |
| 090.120 | 0750111341 | Уплотнительное кольцо | |
| 100 | 1313301036 | Gasket | |
| 130 | 1296301008 | Трубка распылителя | |
| 140.010 | 0636302053 | Пробка с резьбой | |
| 140.020 | 0634801013 | Sealing ring | |
| 160 | 0091308115 | Cover | |
| 170 | 1238308201 | Прокладка | |
| 180.010 | 0636016005 | Hexagon screw | |
| 180.020 | 0630302021 | Washer | |
| 500 | 0091331002 | Closing cover | |
| 502 | 0634313671 | O-ring | |
| 504 | 0636015084 | Hexagon screw |
Содержащиеся в справочниках-каталогах запасные части и детали не предлагаются к продаже, а носят исключительно информационный характер