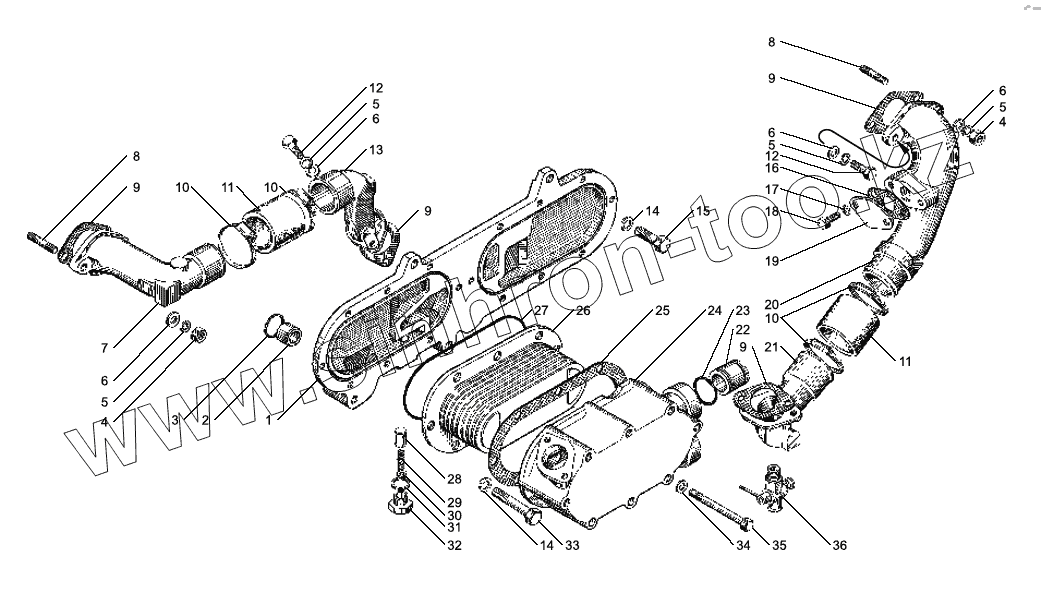
Каталог запасных частей к технике: ЯМЗ-7511 (2005). Теплообменник жидкостно-масляный пластичный
238Б-1013600-А
1
2
3
4
4
5
5
5
5
6
6
6
6
7
8
8
9
9
9
9
10
10
10
10
11
11
12
12
13
14
14
15
16
17
18
19
20
21
22
23
24
25
26
27
28
29
30
31
32
33
34
35
36
| Позиция на иллюстрации | Заводской номер детали | Название детали | |
|---|---|---|---|
| 238Б-1013600-А | 238Б-1013600-А | Теплообменник жидкостно-масляный в сборе | |
| 1 | 238Б-1013622-А | Корпус жидкостно-масляного теплообменника | |
| 2 | 236Н-1013630 | Втулка | |
| 3 | 25 3111 6144 | Кольцо 025-031-36-2-5 | |
| 4 | 250513-П29 | Гайка | |
| 5 | 252136-П2 | Шайба 10 пружинная | |
| 6 | 252006-П29 | Шайба плоская | |
| 7 | 238Б-1013724 | Патрубок подводящий | |
| 8 | 310423-П29 | Шпилька | |
| 9 | 850.1303188 | Прокладка | |
| 10 | 8.8386 | Хомут червячный TORRO S50-70/9C7-W1 | |
| 10 | 8.8388 | Хомут червячный ABA 58-75-C7/9-W1 | |
| 11 | 238Б-1013740 | Рукав соединительный | |
| 12 | 201499-П29 | Болт 10-6gх30 | |
| 13 | 238Б-1013726 | Патрубок подводящий | |
| 14 | 252137-П2 | Шайба пружинная | |
| 15 | 201565-П29 | Болт | |
| 16 | 201-1306075-A | Прокладка | |
| 17 | 252135-П2 | Шайба пружинная | |
| 18 | 201454-П29 | Болт М8х16 | |
| 19 | 236-1002404 | Заглушка | |
| 20 | 238Б-1013732 | Патрубок отводящий | |
| 21 | 238Б-1013728 | Патрубок отводящий переходный | |
| 22 | 238Б-1013720 | Муфта соединительная | |
| 23 | 25 3111 2253 | Кольцо 032-040-46-2-1(гр.1013) | |
| 24 | 238Б-1013710-А | Крышка теплообменника | |
| 25 | 238Б-1013682 | Прокладка крышки теплообменника | |
| 26 | 238Б-1013650 | Элемент теплопередающий | |
| 27 | 25 3111 6319 | Кольцо | |
| 28 | 840.1011364 | Клапан предохранительный | |
| 29 | 204-1011368 | Пружина | |
| 30 | 252004-П29 | Шайба | |
| 31 | 204-1011371 | Прокладка пробки | |
| 32 | 204Т-1011370-Б | Пробка | |
| 33 | 200399-П29 | Болт | |
| 34 | 252005-П29 | Шайба плоская | |
| 35 | 200279-П29 | Болт | |
| 36 | 8.8464 | Кран ПС10-1-0 |
Содержащиеся в справочниках-каталогах запасные части и детали не предлагаются к продаже, а носят исключительно информационный характер