Каталог запасных частей к технике: ЯМЗ-240. Сапун
1
2
2
3
3
4
5
6
7
8
9
10
11
12
13
14
15
16
17
17
17
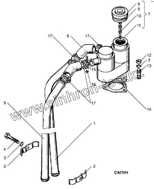
| Позиция на иллюстрации | Заводской номер детали | Название детали | |
|---|---|---|---|
| 240-1014104-Б | 240-1014104-Б | Сапун в сборе | |
| 236-1014104 | 236-1014104 | Сапун с маслоналивным патрубком в сборе | |
| 240-1014120 | 240-1014120 | Кольцо уплотнительное | |
| 1 | 240-1014149-Б | Труба отвода газов в сборе | |
| 2 | 240-1014147 | Скоба | |
| 3 | 252135-П2 | Шайба пружинная | |
| 4 | 200271-П29 | Болт М8х60 | |
| 5 | 240-1014148 | Труба отвода газов в сборе | |
| 6 | 240-1014138 | Патрубок переходной | |
| 7 | 240-1014094 | Сапун в сборе | |
| 8 | 201-1114060-А | Крышка головки маслозаливного патрубка в сборе | |
| 9 | 201-1114065-А2 | Прокладка крышки маслоналивного патрубка | |
| 10 | 201-1114064-А | Цепочка крышки | |
| 11 | 240-1014098 | Сапун с патрубком в сборе | |
| 12 | 250511-П29 | Гайка | |
| 13 | 216235-П29 | Шпилька | |
| 14 | 240-1014128 | Прокладка сапуна | |
| 15 | 220086-П29 | Винт М5х30 | |
| 16 | 251086-П29 | Гайка М5 | |
| 17 | 288010-П29С | Хомутик |
Содержащиеся в справочниках-каталогах запасные части и детали не предлагаются к продаже, а носят исключительно информационный характер