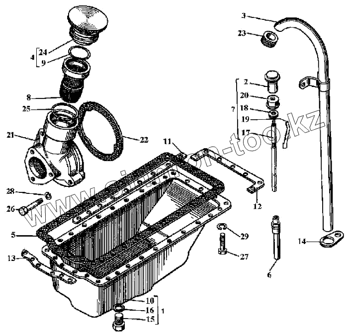
Каталог запасных частей к технике: ВТЗ Д-144. Картер масляный двигателя
1
2
3
4
5
6
7
8
9
11
13
14
15
16
17
18
19
20
21
22
23
24
25
26
27
28
29
| Позиция на иллюстрации | Заводской номер детали | Название детали | |
|---|---|---|---|
| 1 | Д37М-1401010Б | Картер | |
| 2 | 51Ю-3709051 | Ручка | |
| 3 | Д37М-1401071 | Труба | |
| 4 | Д37М-1401080 | Пробка | |
| 5 | Д30-1401111А3-01 | Прокладка | |
| 6 | Д30-1401160 | Трубка | |
| 7 | Д37М-1401230А | Указатель | |
| 8 | Д37М-1401270В | Патрубок | |
| 9 | Т28-3401047 | Кольцо | |
| 11 | Д37М-1401061 | Пластина | |
| 13 | Д30-1401063 | Пластина | |
| 14 | Д37М-1401075 | Серьга | |
| 15 | Д37М-1401079 | Пробка | |
| 16 | Д37М-1401085 | Шайба | |
| 17 | Д37М-1401231А | Указатель | |
| 18 | Д30-1401235Б-03 | Кольцо | |
| 19 | Д30-1401236 | Пружина | |
| 20 | 28-1401238 | Колпачок | |
| 21 | Д37М-1401271В2 | Корпус | |
| 22 | Д37М-1401272А2-03 | Прокладка | |
| 23 | Д30-1007399 | Кольцо | |
| 24 | А19.01.001 | Пробка | |
| 25 | А19.01.003 | Кольцо | |
| 26 | М6.6gх45.88.35.019 | Болт | |
| 27 | 4М8.6gх20.88.35.019 | Болт | |
| 28 | 6Т.65Г.06 | Шайба | |
| 29 | 8Т.65Г.06 | Шайба |
Содержащиеся в справочниках-каталогах запасные части и детали не предлагаются к продаже, а носят исключительно информационный характер