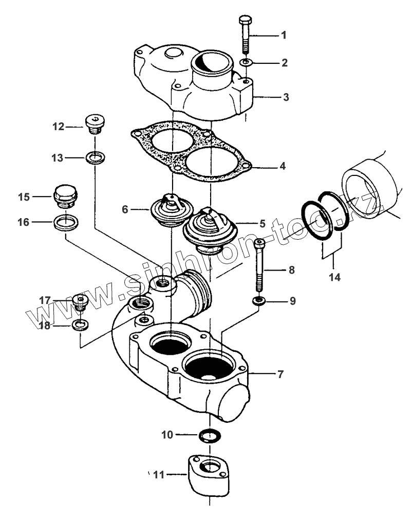
Каталог запасных частей к технике: Valmet 612 DSL. THERMOSTAT- FROM NO D 6826
1
2
3
4
5
6
7
8
9
10
11
12
13
14
15
16
17
18
| Позиция на иллюстрации | Заводской номер детали | Название детали | |
|---|---|---|---|
| 1 | V529801550 | Screw | |
| 2 | V500950800 | Washer | |
| 3 | V836329631 | Cover | |
| 4 | V836329632 | Gasket | |
| 5 | V836352903 | Thermostat | |
| 6 | V836015156 | Thermostat | |
| 7 | V836355440 | Housing | |
| 8 | V581804690 | Screw | |
| 9 | V836015967 | Seal | |
| 10 | V614602930 | O-Ring | |
| 11 | V836338515 | Distance Piece | |
| 12 | V640325018 | Plug | |
| 13 | V615881822 | Seal | |
| 14 | V614604958 | O-Ring | |
| 15 | V640045022 | Plug | |
| 16 | V615882227 | Gasket | |
| 17 | V640325014 | Plug | |
| 18 | V615881418 | Seal |
Содержащиеся в справочниках-каталогах запасные части и детали не предлагаются к продаже, а носят исключительно информационный характер