Каталог запасных частей к технике: ТМЗ Дизели ТМЗ-8421 - 85227. Трубы и термостаты системы охлаждения
1
2
3
4
5
6
6
6
7
8
9
10
11
12
13
14
15
16
17
18
19
19
20
21
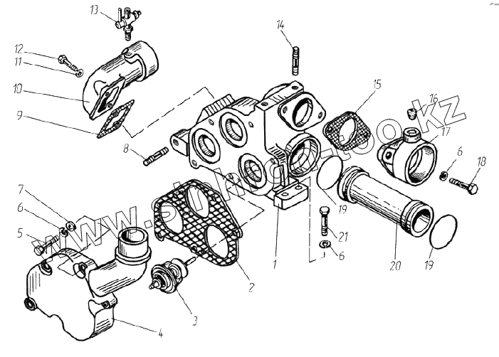
| Позиция на иллюстрации | Заводской номер детали | Название детали | |
|---|---|---|---|
| 8463.1303176 | 8463.1303176 | Коробка водяная с патрубком (в сборе) | |
| 1 | 8463.1303178 | Коробка водяная | |
| 2 | 8463.1303214 | Прокладка патрубка | |
| 3 | 4591441034 | Термостат ТС 107-1306100-02 | |
| 4 | 8463.1303130 | Патрубок водяной коробки | |
| 5 | 201688-П29 | Болт М10х1,25х60 | |
| 6 | 252136-П2 | Шайба 10.ОТ | |
| 7 | 252006-П29 | Шайба 10 | |
| 8 | 310419-П2 | Шпилька М12х(1,75-3n)/(1,25-6g)х55(20/22) | |
| 9 | 8463.1303188 | Прокладка патрубка | |
| 10 | 8463.1303090 | Патрубок отводящий правой водяной трубы | |
| 11 | 252135-П2 | Шайба 8.Т | |
| 12 | 201458-П29 | Болт М8-6gх25 | |
| 13 | 4599300006 | Кран ПС 7-0 | |
| 14 | 216459-П29 | Шпилька М10х1,25х25 | |
| 15 | 8463.1303175 | Прокладка патрубка | |
| 16 | 316135-П2 | Пробка К3/8 | |
| 17 | 8463.1303210 | Патрубок подводящий водяной коробки | |
| 18 | 201497-П29 | Болт М10х25 | |
| 19 | 2531193817 | Кольцо 052-060-46-2-7 | |
| 20 | 849.1303156 | Труба отводящая (в сборе) | |
| 21 | 201682-П29 | Болт М10х1,25х40 |
Содержащиеся в справочниках-каталогах запасные части и детали не предлагаются к продаже, а носят исключительно информационный характер