Каталог запасных частей к технике: ТМЗ Дизели ТМЗ-8421 - 85227. Генератор
1
2
3
4
5
6
7
8
9
9
9
9
9
9
9
10
11
11
12
13
14
15
16
17
18
19
19
20
20
20
20
21
21
21
21
22
23
24
25
26
26
26
26
26
27
27
27
27
27
28
29
30
31
32
33
34
35
36
36
36
37
38
39
40
41
42
43
44
45
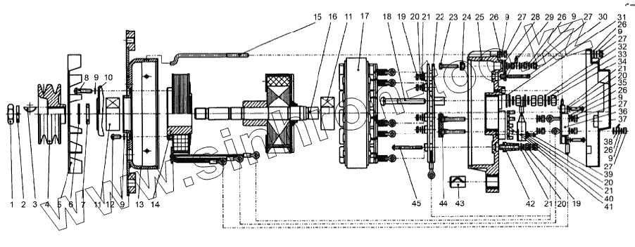
| Позиция на иллюстрации | Заводской номер детали | Название детали | |
|---|---|---|---|
| 1 | М16х1,5 ГОСТ 5916-70 | Гайка | |
| 2 | 16.65Г ГОСТ 6402-70 | Шайба пружинная | |
| 3 | ГЛЦИ.71115.025 | Шпонка | |
| 4 | ФЭГТ.2000.042 | Шкив | |
| 5 | ФЭГТ.2000.022 | Вентилятор | |
| 6 | ГЛЦИ.758481.018 | Шайба | |
| 7 | ФЭГТ.2000.025 | Втулка дистанционная | |
| 8 | В.М5х25 ГОСТ 17473-80 | Винт | |
| 9 | 5.65Г ГОСТ 6402-70 | Шайба пружинная | |
| 10 | ГЛЦИ.711352.015 | Крышка подшипника | |
| 11 | 6-180603КС9 ГОСТ 8882-75 | Подшипник | |
| 12 | В.М5х10 ГОСТ 17473-80 | Винт | |
| 13 | ФЭГТ.2000.004 | Щит подшипниковый | |
| 14 | ФЭГТ.2000.020 | Катушка | |
| 15 | ГЛЦИ.758274.008-01 | Шпилька | |
| 16 | ФЭГТ.2000.0015 | Ротор | |
| 17 | ФЭГТ.2000.023 | Статор | |
| 18 | ФЭГТ.2000.037 | Винт | |
| 19 | М4 ГОСТ 5915-70 | Гайка | |
| 20 | 4.65Г ГОСТ 6402-70 | Шайба пружинная | |
| 21 | 4.01 ГОСТ 11371-78 | Шайба | |
| 22 | БВП97-150 | Блок выпрямительный | |
| 23 | ФЭГТ.2000.0056 | Болт | |
| 24 | ФЭГТ.2000.0026 | Изолятор | |
| 25 | ФЭГТ.2000.0001 | Щит подшипниковый | |
| 26 | 5.01 ГОСТ11371-78 | Шайба | |
| 27 | М5 ГОСТ5915-70 | Гайка | |
| 28 | ГЛЦИ.758481.014 | Шайба | |
| 29 | ГЛЦИ.757552.001 | Изолятор фазный | |
| 30 | ГЛЦИ.758164.005 | Винт | |
| 31 | ФЭГТ.2000.030 | Шайба | |
| 32 | 8.01 ГОСТ 11371-78 | Шайба | |
| 33 | 8.65Г ГОСТ 6402-70 | Шайба пружинная | |
| 34 | М8 ГОСТ 5915-70 | Гайка | |
| 35 | В.М4х20 ГОСТ 17473-80 | Винт | |
| 36 | 7342.3702 | Регулятор напряжения | |
| 36 | 7921.3702 | Регулятор напряжения | |
| 36 | 841.3702 | Регулятор напряжения | |
| 37 | ФЭГТ.2000.021 | Крышка | |
| 38 | ГЛЦИ.757461.017 | Клемма соединительная | |
| 39 | В.М4х6 ГОСТ 17473-80 | Винт | |
| 40 | ФЭГТ.2000.062 | Конденсатор | |
| 41 | ГЛЦИ.757546.002 | Изолятор | |
| 42 | ГЛЦИ.757552.002 | Изолятор фазный | |
| 43 | ГЛЦИ.723211.019 | Втулка разрезная | |
| 44 | ФЭГТ.2000.029 | Колодка выводов | |
| 45 | В.М4х55 ГОСТ 17473-80 | Винт |
Содержащиеся в справочниках-каталогах запасные части и детали не предлагаются к продаже, а носят исключительно информационный характер