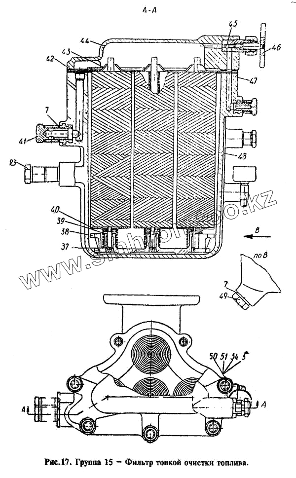
Каталог запасных частей к технике: СМД 14 (1998 г. Минск). Фильтр тонкой очистки топлива
5
7
23
34
37
38
39
40
41
42
43
44
45
46
47
48
49
50
51
| Позиция на иллюстрации | Заводской номер детали | Название детали | |
|---|---|---|---|
| 5 | ШПН-10 | Шайба пружинная | |
| 7 | СМД7-1539 | Прокладка | |
| 23 | СМД7-1536 | Болт | |
| 34 | Н-5480 | Шайба | |
| 37 | ШПН-4 | Шайба пружинная | |
| 38 | СМД14-1588-1 | Плита опорная | |
| 39 | СМД14-1589-1 | Пружина | |
| 40 | 14-15С8-1А | Стержень секции фильтра в сборе | |
| 41 | 16-110 | Болт поворотного угольника | |
| 42 | 14-1510 | Прокладка пластины фильтра | |
| 43 | 14-1509А | Пластина фильтра тонкой | |
| 44 | 14-1508А | Крышка фильтра тонкой очистки | |
| 45 | ВV5,556ммР | Шарик | |
| 46 | 14-15С33 | Игла продувочного вентиля в сборе | |
| 47 | СМД14-1501А | Корпус фильтра тонкой очистки | |
| 48 | 24-1117080А | Элемент фильтрующий в сборе | |
| 49 | Н-5889 | Пробка резьбовая | |
| 50 | Н-5265 | Шпилька | |
| 51 | ГУ-М10 | Гайка |
Содержащиеся в справочниках-каталогах запасные части и детали не предлагаются к продаже, а носят исключительно информационный характер