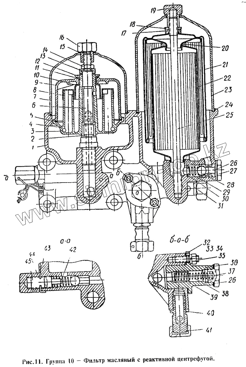
Каталог запасных частей к технике: СМД 14 (1998 г. Минск). Фильтр масляный с реактивной центрифугой
1
2
3
4
5
6
7
8
9
10
11
12
13
14
15
16
17
18
19
20
21
22
23
24
25
26
27
28
29
30
31
32
33
34
35
36
37
38
39
40
41
42
43
44
45
| Позиция на иллюстрации | Заводской номер детали | Название детали | |
|---|---|---|---|
| 14-1072 | 14-1072 | Ниппель датчика | |
| Н-5870А | Н-5870А | Втулка резьбовая | |
| 14Б-10С1-1 | 14Б-10С1-1 | Фильтр масляный с реактивной центрифугой | |
| 74.08.001-1А | 74.08.001-1А | Радиатор масляный о сборе | |
| 15К-11С2 | 15К-11С2 | Радиатор масляный в сборе | |
| СМД1-1022 | СМД1-1022 | Прокладка корпуса масляного фильтра | |
| Н-5990 | Н-5990 | Пробка | |
| 15К-11С2 | 15К-11С2 | Радиатор масляный в сборе | |
| 1 | 14Б-10С4-1 | Корпус маслофильтра в сборе | |
| 2 | 54.06.460А | Втулка нижняя | |
| 3 | СМД7-1047 | Форсунка | |
| 4 | 54.06.036-3 | Корпус ротора в сборе | |
| 5 | 54.06.453-2 | Прокладка корпуса ротора | |
| 6 | СМД1-1012-3 | Ось ротора | |
| 7 | СМД7-1061 | Колпак масляного фильтра малый | |
| 8 | 54.06.472-2 | Сетка предохранительная | |
| 9 | 54.06.452-2 | Крышка ротора | |
| 10 | СМД7-1050-1 | Стакан направляющий | |
| 11 | СМД7-1071 | Прокладка | |
| 12 | СМД7-1070 | Гайка крышки ротора | |
| 13 | СМД7-1036 | Втулка упорная | |
| 14 | ГУН-1М12 | Гайка | |
| 15 | СМД7-0684 | Прокладка | |
| 16 | СМД7-1062 | Пробка нажимная малая | |
| 17 | СМД7-1066 | Кольцо уплотняющее | |
| 18 | ШШ-15 | Шайба | |
| 19 | СМД7-1060 | Пробка нажимная | |
| 20 | СМД7-1064 | Кольцо уплотняющее | |
| 21 | СМД7-10С10 | Секция фильтра наружная | |
| 22 | СМД7-10С11 | Секция фильтра внутренняя | |
| 23 | СМД7-10С6 | Колпак и сборе | |
| 24 | СМД7-1065 | Прокладка колпака масляного фильтра | |
| 25 | СМД1-1021 | Ось фильтра грубой очистки | |
| 26 | СМД7-0929 | Прокладка угольника поворотного | |
| 27 | СМД7-1031 | Корпус перепускного клапана | |
| 28 | Б111-15,081ммР | Шарик | |
| 29 | СМД7-1037 | Пружина перепускного клапана | |
| 30 | СМД1-1030 | Шайба опорная | |
| 31 | 14-1068 | Штуцер | |
| 32 | СМД1-1025 | Прокладка | |
| 33 | ШНЧ-М10Х22 | Шпилька | |
| 34 | ГУ-М10 | Гайка | |
| 35 | ШПН-10 | Шайба пружинная | |
| 36 | СМД1-1024А | Корпус переключателя | |
| 37 | СМД1-1028 | Пробка | |
| 38 | СМД1-1027-1 | Пружина клапана маслофильтра | |
| 39 | СМД7-1039 | Стакан предохранительного клапана | |
| 40 | 14-1034 | Штуцер | |
| 41 | 14-1033А | Гайка | |
| 42 | СМД7-1038А | Пружина сливного клапана | |
| 43 | СМД7-1032-1 | Прокладка сливного клапана | |
| 44 | СМД7-1067 | Гайка клапана ел и иного | |
| 45 | СМД7-1063 | Винт регулировочный |
Содержащиеся в справочниках-каталогах запасные части и детали не предлагаются к продаже, а носят исключительно информационный характер