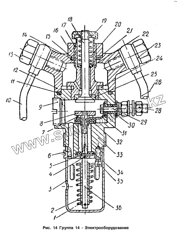
Каталог запасных частей к технике: СМД 14 (1998 г. Минск). Электрофакельный подогреватель
1
2
3
4
5
6
7
8
9
10
11
12
13
14
15
16
17
18
19
20
21
22
23
24
25
26
28
29
30
31
32
33
34
35
36
| Позиция на иллюстрации | Заводской номер детали | Название детали | |
|---|---|---|---|
| 14-1540 | 14-1540 | Планка зажима | |
| БНП-М8Х25 | БНП-М8Х25 | Болт | |
| СМД14-14С18А | СМД14-14С18А | Электрофакельный подогреватель | |
| 14-1567 | 14-1567 | Прокладка | |
| 1 | СМД1-1458 | Втулка изоляционная | |
| 2 | СМД1-1457 | Спираль накаливания | |
| 3 | СМД14-1459 | Чашечка | |
| 4 | Ш-1Х6 | Шплинт | |
| 5 | ШШ-3 | Шайба | |
| 6 | В-М8Х6 | Винт | |
| 7 | ШПН-5 | Шайба пружинная | |
| 8 | 14-1494 | Гайка спираледержателя | |
| 9 | СМД55-1418 | Упор | |
| 10 | СМД14-14С27 | Трубка подвода топлива в сборе | |
| 11 | СМД14-1417 | Кольцо уплотнительное | |
| 12 | СМД14-1448-1А | Крышка | |
| 13 | СМД7-1590 | Болт зажимной | |
| 14 | 14-1495 | Кольцо уплотнительное | |
| 15 | 14-1496 | Шайба | |
| 16 | 14-1498А | Гайка | |
| 17 | 14-1402-2 | Корпус клапана | |
| 18 | СМД14-1462-1 | Клапан | |
| 19 | 14-1410-2 | Колпачок | |
| 20 | СМД14-1455 | Пружина | |
| 21 | СМД14-1404 | Шайба | |
| 22 | СМД14-1463 | Шайба клапана | |
| 23 | СМД7-1591 | Прокладка | |
| 24 | 14-1497 | Шайба | |
| 25 | 14-1430 | Седло клапана | |
| 26 | СМД14-14С26 | Трубка отвода топлива в сборе | |
| 27 | ШШ1-5 | Шайба | |
| 28 | ГУ-М5 | Гайка | |
| 29 | СМД14-1425 | Болт контактный | |
| 30 | СМД14-1416 | Трубка изоляционная | |
| 31 | СМД14-1413А | Пластина | |
| 32 | 14-1414А | Шайба | |
| 33 | СМД14-1442 | Корпус подогревателя | |
| 34 | 14-1493 | Шайба | |
| 35 | СМД14-1454 | Контакт | |
| 36 | СМД14-1456 | Стержень спираледержателя |
Содержащиеся в справочниках-каталогах запасные части и детали не предлагаются к продаже, а носят исключительно информационный характер