Каталог запасных частей к технике: SDEC серии 6114В. Система охлаждения двигателя
2
2
2
3
3
3
4
5
5
6
6
6
6
6
7
8
9
10
11
12
13
14
15
16
16
16
17
18
19
20
21
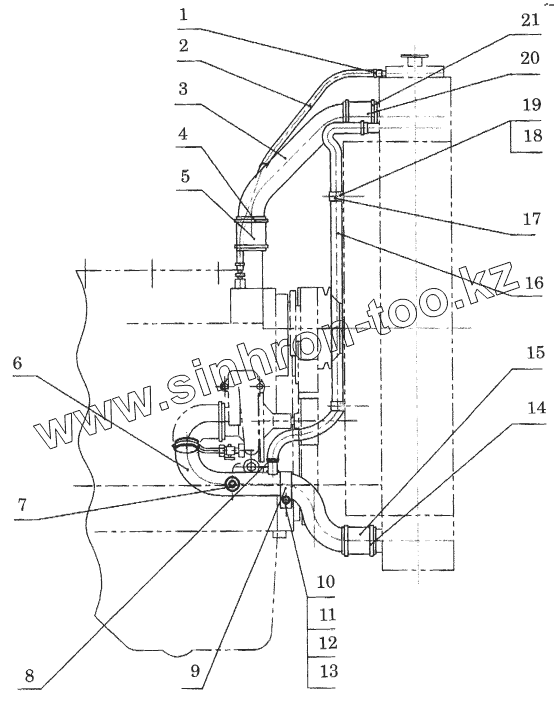
| Позиция на иллюстрации | Заводской номер детали | Название детали | |
|---|---|---|---|
| GB5787-AM10x25 | GB5787-AM10x25 | Болт | |
| GB6177-M10-Y | GB6177-M10-Y | Гайка | |
| D24B-112-01 | D24B-112-01 | Выходной патрубок радиатора | |
| D24A-122-01 | D24A-122-01 | Заглушка, трубка | |
| 1 | Q/SC1302-18-32 | Зажим | |
| 1 | Q/SC1302-12-19 | Зажим | |
| 2 | GB7548-0-10x850 | Шланг | |
| 2 | GB7548-0-10x750 | Шланг | |
| 2 | GB7548-0-10x640 | Шланг | |
| 3 | D24C-103-42 | Верхний входной патрубок радиатора | |
| 3 | D24C-103-43 | Верхний входной патрубок радиатора | |
| 3 | D24C-103-34 | Верхний входной патрубок радиатора | |
| 4 | Q/SC1302-52-76 | Зажим | |
| 5 | Q/SC646-57x100 | Шланг | |
| 5 | Q/SC646-60x100 | Шланг | |
| 6 | D24C-003-36 | Патрубок, водный насос | |
| 6 | D24C-003-46 | Патрубок, водный насос | |
| 6 | D24C-003-49 | Патрубок, водный насос | |
| 6 | D24C-003-81c | Входной патрубок водяного насоса | |
| 6 | D24C-003-85 | Входной патрубок водяного насоса | |
| 7 | D02A-164-01 | Заглушка, трубка | |
| 8 | Q/SC1302-21-44 | Зажим | |
| 9 | D24B-113-01 | Зажим | |
| 10 | GB5783-M10x20 | Болт | |
| 11 | GB97.2-10-200HV-Y | Шайба | |
| 12 | D24C-111-35a | Кронштейн, водный насос | |
| 13 | GB5787-AM8x16 | Болт | |
| 14 | Q/SC1302-52-76 | Зажим | |
| 15 | Q/SC646-51x100 | Шланг | |
| 16 | Q/SC646-19x1200 | Шланг | |
| 16 | Q/SC646-25x1000 | Шланг | |
| 16 | Q/SC646-25x1200 | Шланг | |
| 17 | D24B-114-01 | Зажим | |
| 18 | GB5783-M10x20 | Болт | |
| 19 | GB97.2-10-200HV-Y | Шайба | |
| 20 | Q/SC646-57x100 | Шланг | |
| 21 | Q/SC1302-52-76 | Зажим |
Содержащиеся в справочниках-каталогах запасные части и детали не предлагаются к продаже, а носят исключительно информационный характер