Каталог запасных частей к технике: SDEC серии 6114В. Система экстренной остановки
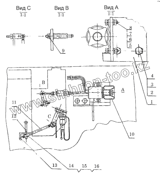
1
1
2
2
3
4
4
5
5
6
7
8
9
10
10
10
11
11
12
13
14
15
16
| Позиция на иллюстрации | Заводской номер детали | Название детали | |
|---|---|---|---|
| D59-001-08 | D59-001-08 | Сварная скоба, соленоид | |
| D59-002-01 | D59-002-01 | Кронштейн, запорный клапан соленоида | |
| D59-002-03 | D59-002-03 | Кронштейн, запорный клапан соленоида | |
| 1 | D59-101-08 | Кронштейн, клапан соленоида отключения | |
| 1 | D59-101-10 | Кронштейн, клапан соленоида отключения | |
| 2 | GB5783-M6x16 | Болт | |
| 2 | GB5787-M6x16 | Болт | |
| 3 | GB93-6 | Шайба | |
| 4 | GB97.1-6-200HV-Y | Шайба | |
| 4 | GB97.2-6-200HV-Y | Шайба | |
| 5 | GB5783-M6x20 | Болт | |
| 5 | GB5787-M6x20 | Болт | |
| 6 | GB93-6 | Шайба | |
| 7 | GB97.1-6-200HV-Y | Шайба | |
| 8 | GB6170-M6-Y | Гайка | |
| 9 | GB91-2x12 | Шпилька клиновая | |
| 10 | D59-105-04 | Клапан-отсекатель, соленоидный клапан | |
| 10 | D59-105-05 | Клапан-отсекатель, соленоидный клапан | |
| 10 | D59-105-07 | Клапан-отсекатель, соленоидный клапан | |
| 11 | D59-103-01 | Пружина | |
| 11 | D59-103-04 | Пружина | |
| 12 | D59-110-01 | Болт | |
| 13 | D59-106-01a | Пружина | |
| 14 | GB6170-M8-Y | Гайка | |
| 15 | GB97.1-8-200HV-Y | Шайба | |
| 16 | GB93-8 | Шайба |
Содержащиеся в справочниках-каталогах запасные части и детали не предлагаются к продаже, а носят исключительно информационный характер