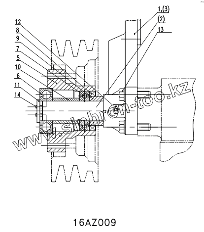
Каталог запасных частей к технике: SDEC C6121ZG57a. FAN DRIVE GP
1
2
3
5
6
7
8
9
10
11
12
13
14
| Позиция на иллюстрации | Заводской номер детали | Название детали | |
|---|---|---|---|
| 1 | 16AB008 | FAN SHAFT BRACKET AS. | |
| 2 | 1P9946 | SHAFT-FAN | |
| 3 | 1P9899 | BRACKER-FAN | |
| 4 | GB/T119-B10x18 | CYLINDRICAL PIN | |
| 5 | 2P1757 | HUB-FAN PULLEY | |
| 6 | GB/T276-6307 | BALL BEARING | |
| 7 | GB/T276-6207 | BALL BEARING | |
| 8 | HG4-692-SG50x72x12 | RUBBER OIL SEAL | |
| 9 | 16AL002 | SPACER | |
| 10 | 8N5305 | SPACER | |
| 11 | 5S7264 | WASHER-RETAINING | |
| 12 | GB/T1152-M10x1 | OIL WREATH | |
| 13 | 5P2566 | BOLT | |
| 14 | 6V4626 | BOLT-SELF LOCKING |
Содержащиеся в справочниках-каталогах запасные части и детали не предлагаются к продаже, а носят исключительно информационный характер