Вернуться на главную
Поиск
Каталоги запчастей к технике
Двигатели
SDEC
SDEC C6121ZG57a
CRANKSHAFT GP
Каталог запасных частей к технике: SDEC C6121ZG57a. CRANKSHAFT GP
zoom-in
zoom-out
enlarge
shrink
circle-right
circle-left
file-text2
info
cart
Тип техники
Не выбрано
Легковые автомобили
Грузовые автомобили и прицепы
Автобусы
Сельхозтехника
Спецтехника
Двигатели
Мототехника
Марка
Не выбрано
BAW
Caterpillar
Cummins
DCEC
DongFeng
Doosan
FAW
Great Wall
Hitachi
HOWO
HSW
IVECO
Komatsu
LGMG
Perkins
Raywin
SDEC
Shaanxi
Valmet
Weichai
XINCHAI
YTO
Yuchai
ZF
Алтайдизель
Барнаултрансмаш
ВТЗ
ГАЗ
ЗиД
ЗМЗ
Камский автозавод
ММЗ
СМД
ТМЗ
УМЗ
ЧТЗ
ЮМЗ
ЯЗДА
ЯМЗ
Модель
Не выбрано
SC11CB220G2B1 (2013)
SC9D220G2B1 (2015)
SC9DF260Q5
SC9DF290Q4 (2015)
SDEC 6CL280-2 (2015)
SDEC 6CL320-2
SDEC C6121ZG57a (2010)
SDEC серии 6114В (2010)
Схема
>
Не выбрано
BLOCK AND COVER GP
SEAL GP-CRANKSHAFT
FILLER GP-OIL
SUPPORT GP-REARSEAL CSHAFT
PAN AND FASTENER GP
GAGE GP-OIL LEVEL
HEAD, COVER, FASTENER AND LIFTING GP
PISTON & GP-ROD
CRANKSHAFT GP
PULLEY GP-CRANKSHAFT
FLYWHEEL GP
DAMPER GP
GEAR GP-FRONT
MUFFLER GP AND RAIN CAP GP
CAMSHAFT GP
MOTOR AND ALTERNATOR GP
INTAKE MANIFOLD GP
INTAKE AND EXHAUST MANIFOLD GP
EXHAUST MANIFOLD AND FASTENER GP
AIR CLEANER, GAGE AND DUST EJECTOR GP
ENGINE OIL PUMP GP (TWO SECTION GEAR)
FAN DRIVE GP
FAN PULLEY, VEE BELT SET AND FAN ADAPTER GP
FAN & GUARD GP
COOLER & FILTER GP-OIL
TRANSMISSION OIL COOLER GP
LINES GP-ENGINE OIL
LINES GP-TURBOCHARGER OIL
PUMP GP-WATER
REGULATOR & GP-HOUSING
LINES GP-WATER
FUEL INJECTION AND DRAIN LINES GP
ENGINE SUPPORT, FLYWHEEL HOUSING SUPPORT AND BOLT MTG GP
SHUT-OFF GP-ELECTRICAL
FRONT HOUSING, COVER AND FASTENER GP
TRUNNION GP
VALVE MECHANISM, COVER, BREATHER AND FUMES DISPOSAL GP
FILTER GP-SECONDARY
TOOLS GP
TURBOCHARGER GP
PUMP & CONTROL GP-GOV
APPLICATION GP
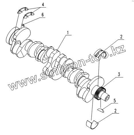
1
2
2
3
4
5
6
Позиция на иллюстрации
Заводской номер детали
Название детали
1
06AL102
CRANKSHAFT AS.
2
4W5738
BEARING
3
1W4405
GEAR
4
1003652
PLATE
5
5H2671
KEY-WOODRUFF №9
6
9F2247
PLUG
Содержащиеся в справочниках-каталогах запасные части и детали не предлагаются к продаже, а носят исключительно информационный характер
Дополнительная информация
×
Название:
Номер:
Примечание: