Каталог запасных частей к технике: SDEC 6CL320-2. PARTS GROUP, ENGINE APPLICATION
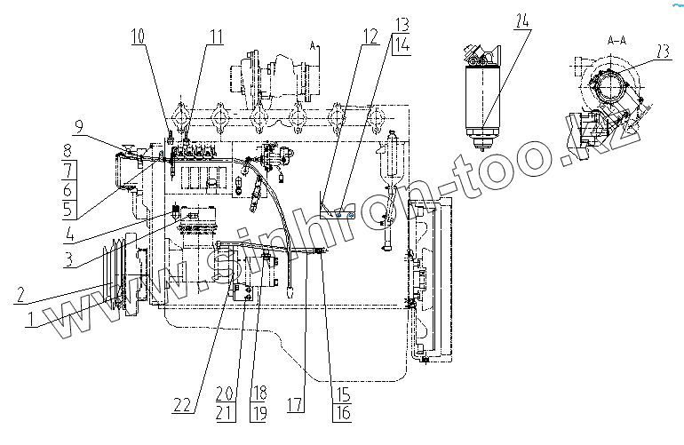
1
2
3
4
5
6
7
8
9
10
11
12
13
14
15
16
17
18
19
20
21
22
23
24
| Позиция на иллюстрации | Заводской номер детали | Название детали | |
|---|---|---|---|
| 1 | B00002017 | HEXAGON BOLTS WITH FLANGE-SMALL SERIES | |
| 2 | D00-108-71 | PULLEY, CRANKSHAFT | |
| 3 | D00-160-20 | JOINT, AIR OUTLET PIPE-AIR COMPRESSOR | |
| 4 | D00-105-20 | JOINT ELBOW | |
| 5 | D00-138-04 | CLAMP | |
| 6 | D00-143-28 | BRACKET | |
| 7 | B00002137 | HEX HEAD BOLT | |
| 8 | D00-140-01 | SPACER | |
| 9 | T00-037-01 | OIL DIPSTICK AND TUBE ADAPTER ASSY | |
| 10 | D04-151-30 | Соединительный элемент, вентиль | |
| 11 | D00-163-08 | Joint, warm water outlet from engine | |
| 12 | D00-037-10 | BRACKET ASSY, CONTROL LEVER | |
| 13 | B00002134 | HEX HEAD BOLT | |
| 14 | B00001253 | Single coil spring lock washers, normal type | |
| 15 | B00002177 | BANJO BOLT | |
| 16 | B00001545 | RUBBER COATED HARD WASHER | |
| 17 | D00-106-11 | OIL INLET PIPE, AIR COMPRESSOR | |
| 18 | D00-299-01 | OIL OUTLET JOINT ADAPTER, STEERING PUMP | |
| 19 | B00001837 | COPPER WASHER | |
| 20 | B00001996 | HEXAGON BOLTS WITH FLANGE-SMALL SERIES | |
| 21 | D00-101-40A | BRACKET, AIR COMPRESSOR | |
| 22 | D02B-115-01A | Gasket, steering pump | |
| 23 | D13-001-01 | Зажим | |
| 24 | D00-034-07 | WATER/FUEL SEPARATOR ASSY |
Содержащиеся в справочниках-каталогах запасные части и детали не предлагаются к продаже, а носят исключительно информационный характер