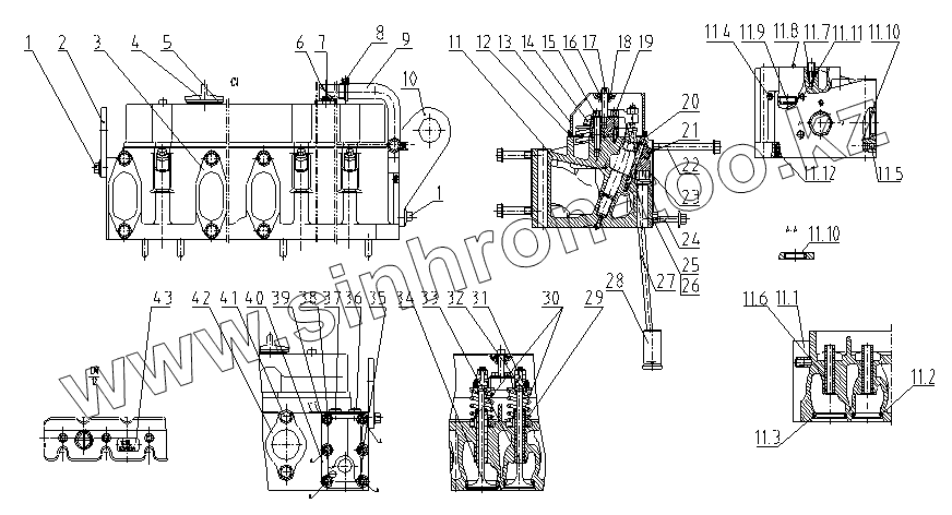
Каталог запасных частей к технике: SDEC 6CL280-2. D04-000-30A CYLINDER HEAD GROUP
1
1
2
3
4
5
6
7
8
9
10
11
11.1
11.2
11.3
11.4
11.5
11.6
11.7
11.8
11.9
11.10
11.10
11.11
11.12
12
13
14
15
16
17
18
19
20
21
22
23
24
25
26
27
28
29
30
31
32
33
34
35
36
37
38
39
40
41
42
43
| Позиция на иллюстрации | Заводской номер детали | Название детали | |
|---|---|---|---|
| 1 | B00002047 | BOLT, HEX FLANGE HEAD CAP | |
| 2 | D04-142-30C | EYE PLATE, FRONT | |
| 3 | D04-131-30 | Прокладка, впускной коллектор | |
| 4 | D04-138-01A | CAP, OIL FILLER | |
| 5 | D04-139-02 | GASKET, OIL FILLER CAP | |
| 6 | D04-017-50 | TUBE, VENTILATION | |
| 7 | B00002111 | HEX HEAD BOLT | |
| 8 | B00001565 | CLAMP | |
| 9 | S00011811 | MIST INLET PIPE, CRANKCASE VENT FILTER | |
| 10 | D04-143-30C | REAR EYE PLATE | |
| 11 | D04-001-30B | CYLINDER HEAD ASSEMBLY | |
| 11.1 | D04-101-30B | CYLINDER HEAD | |
| 11.2 | D04-103-30 | Седло, выпускной клапан | |
| 11.3 | D04-102-30 | Седло, впускной клапан | |
| 11.4 | D04-132-01 | Заглушка, трубка | |
| 11.5 | D04-317-01 | Заглушка | |
| 11.6 | D04-104-30A | GUIDE, INTAKE | |
| 11.7 | D04-311-01A | PIN | |
| 11.8 | B00000116 | DOWEL, PIN | |
| 11.9 | D04-308-01 | Заглушка, развальцовка (ф25) | |
| 11.10 | D04-167-01A | CUP PLUG | |
| 11.11 | D04-316-01 | Заглушка, развальцовка | |
| 11.12 | D04-161-01 | Шпилька, система регулировки расхода топлива | |
| 12 | D04-135-30A | SEAL, VALVE COVER | |
| 13 | D04-134-32 | VALVE COVER | |
| 14 | D04-007-32 | ROCKER ARM | |
| 15 | D04-120-30 | Болт, вал коромысла | |
| 16 | D04-300-01A | SEAL, VALVE COVER BOLT | |
| 17 | D04-136-30B | BOLT, VALVE COVER | |
| 18 | D04-301-01 | Шайба, болт клапанной крышки | |
| 19 | B00002148 | BOLT, HEX FLANGE HEAD CAP | |
| 20 | D04-148-30 | Болт, форсунка | |
| 21 | D04-147-32 | CLAMP, INJECTOR | |
| 22 | D04-307-01A | BOLT, INTAKE MANIFOLD | |
| 23 | D04-302-02 | SUPPORT, INJECTOR CLAMP | |
| 24 | B00002016 | BOLT, HEX FLANGE HEAD CAP | |
| 25 | D02A-169-01 | PLUG, PIPE | |
| 26 | B00001374 | SEAL, O RING | |
| 27 | D04-128-30A | PUSH ROD | |
| 28 | D04-127-30C | TAPPET | |
| 29 | D04-113-30A | SPRING, VALVE | |
| 30 | D04-107-30 | Маслосъёмник, шток выпускного клапана | |
| 31 | D04-114-30B | RETAINER, VALVE SPRING | |
| 32 | D04-115-30A | COLLET, VALVE | |
| 33 | D04-111-31B | EXHAUST VALVE | |
| 34 | D04-110-33 | INTAKE VALVE | |
| 35 | D04-306-01 | Палец, термостат | |
| 36 | D04-151-30 | Соединительный элемент, вентиль | |
| 37 | D04-309-01 | Заглушка , трубка | |
| 38 | D04-305-01 | Палец, термостат | |
| 39 | B00000846 | NUT, HEX FLANGE HEAD CAP | |
| 40 | D04-304-01 | Прокладка, термостат | |
| 41 | D04-145-30A | BOLT, EXHAUST MANIFOLD | |
| 42 | D04-144-30 | Прокладка, выпускной коллектор | |
| 43 | D04-164-01 | Пластина с торговой маркой |
Содержащиеся в справочниках-каталогах запасные части и детали не предлагаются к продаже, а носят исключительно информационный характер