Каталог запасных частей к технике: SDEC 6CL280-2. D03-000-44 OIL SUMP GROUP
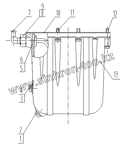
1
2
3
4
5
6
7
8
9
10
11
12
13
| Позиция на иллюстрации | Заводской номер детали | Название детали | |
|---|---|---|---|
| 1 | D03-110-02 | RUBBER COATED HARD WASHER | |
| 2 | B00001728 | HEXAGON PIPE PLUG | |
| 3 | D03-110-01 | RUBBER COATED HARD WASHER | |
| 4 | B00001727 | HEXAGON HEAD SCREW PLUG | |
| 5 | B00001552 | RUBBER COATED HARD WASHER | |
| 6 | D03-030-04 | RETURN OIL PIPE FITTINGS | |
| 7 | D03-304-02 | ELBOW JOINT | |
| 8 | B00000782 | HEXAGON HEAD NUT, TYPE 1 | |
| 9 | B00001844 | COPPER WASHER | |
| 10 | D03-104-30 | Прокладка, масляный поддон | |
| 11 | B00002142 | HEX HEAD BOLT | |
| 12 | B00002156 | HEX HEAD BOLT | |
| 13 | D03-001-48 | OIL SUMP ASSY |
Содержащиеся в справочниках-каталогах запасные части и детали не предлагаются к продаже, а носят исключительно информационный характер