Каталог запасных частей к технике: SDEC SC11CB220G2B1. Lines group-engine oil
1
2
3
4
5
6
7
7
8
9
10
11
12
13
14
14
15
15
16
17
18
19
20
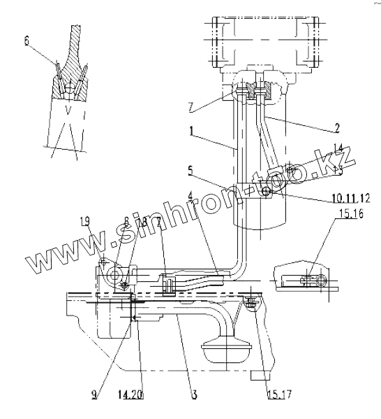
| Позиция на иллюстрации | Заводской номер детали | Название детали | |
|---|---|---|---|
| 1 | 4110001003107 | Oil pipe | |
| 2 | 4110001003106 | Oil pipe | |
| 3 | 4110000186314 | Filter netting | |
| 4 | 4110000186303 | Tube | |
| 5 | 4110000186323 | Collet | |
| 6 | 4110000186322 | Nozzle | |
| 7 | 4110000186332 | O-ring | |
| 8 | 4110000186702 | Spacer | |
| 9 | 4110000186704 | Spacer | |
| 10 | 4110000186320 | Spacer | |
| 11 | 4110000186329 | Screw | |
| 12 | 4110000186027 | Washer | |
| 13 | 4110001003108 | Shim | |
| 14 | 4110000186184 | Screw | |
| 15 | 4110000186330 | Screw | |
| 16 | 4110000186315 | Extension bar | |
| 17 | 4110000186324 | Extension bar | |
| 18 | 4110000186132 | Screw | |
| 19 | 4110000186135 | Screw | |
| 20 | 4110000186328 | Extension bar |
Содержащиеся в справочниках-каталогах запасные части и детали не предлагаются к продаже, а носят исключительно информационный характер