Каталог запасных частей к технике: FAW CA 6DM2-39E4. Масляный картер
1
2
3
3
4
4
4
4
5
6
7
8
9
9
10
11
11
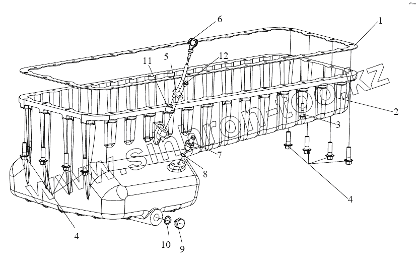
| Позиция на иллюстрации | Заводской номер детали | Название детали | |
|---|---|---|---|
| 1 | 1009031-81D | Уплотнительная прокладка масляного картера | |
| 2 | 1009012-81D | Масляный картер | |
| 3 | CQ1460830 | Болт | |
| 3 | Q1460830 | Комбинированный болт с шестигранной головкой, пружинной шайбой и плоской шайбой | |
| 4 | CQ1461230 | Комбинированный болт | |
| 4 | Q1461230 | Комбинированный болт с шестигранной головкой, пружинной шайбой и плоской шайбой | |
| 5 | 1009060-53D | Маслоуказательная трубка в сборе | |
| 6 | 1009070-81D | Маслоуказатель в сборе | |
| 7 | 1009042-81D | Штуцер возвратного маслопровода | |
| 8 | CQ72316 | Уплотнительное кольцо | |
| 9 | 1009022-53D | Сливная пробка поддона картера | |
| 9 | 1009022-001-0000 | Сливная пробка поддона картера | |
| 10 | CQ72320 | Уплотнительное кольцо | |
| 11 | 1009053-D1 | Уплотнительное кольцо щупа | |
| 11 | 1009053A29D | Уплотнительное кольцо трубки указателя уровня масла |
Содержащиеся в справочниках-каталогах запасные части и детали не предлагаются к продаже, а носят исключительно информационный характер