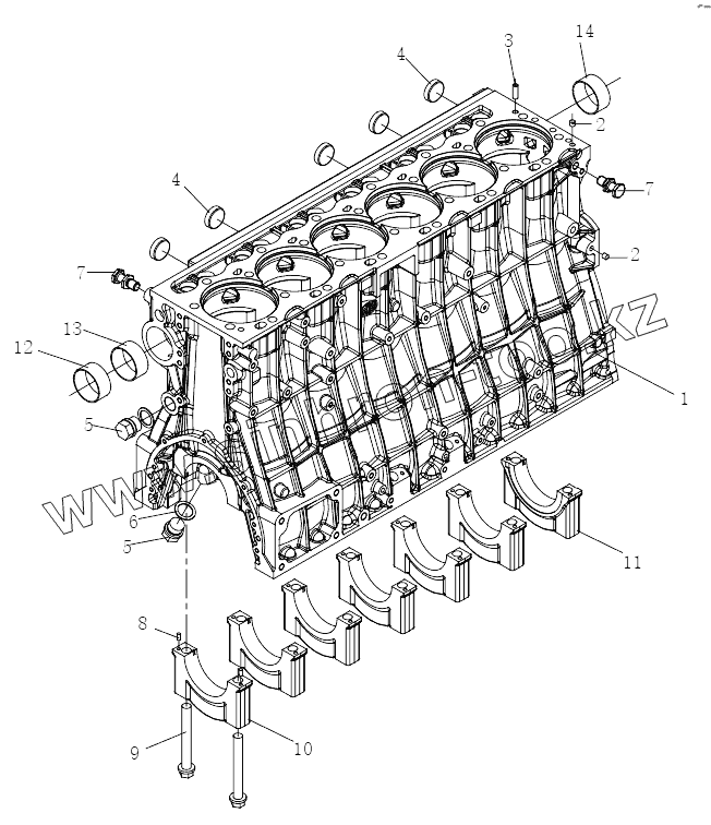
Каталог запасных частей к технике: FAW CA6DL2-37E5. Блок цилиндров
1
2
2
3
4
4
5
5
6
7
7
8
9
10
11
12
13
14
| Позиция на иллюстрации | Заводской номер детали | Название детали | |
|---|---|---|---|
| 1 | 1002014-36D | Блок цилиндров | |
| 2 | 1002023-29D | Штифт | |
| 3 | 1002022A29D | Втулка сальника блока цилиндров | |
| 4 | Q72240 | Пробка чашеобразная | |
| 5 | Q/WC3413-1994 | Резьбовая пробка с шестигранной головкой | |
| 6 | Q/WC3403-1994 | Медная прокладка | |
| 7 | 1002021-29 D | Подъемный болт | |
| 8 | Q5210612 | Штифт | |
| 9 | 1002013-36D | Болт основного подшипника | |
| 10 | 1002011-36D | Крышка подшипника | |
| 11 | 1002012-36D | Крышка подшипника | |
| 12 | 1006024B29D | Втулка переднего кулачкового вала | |
| 13 | 1006028B29D | Втулка промежуточного кулачкового вала | |
| 14 | 1006029B29D | Втулка заднего кулачкового вала |
Содержащиеся в справочниках-каталогах запасные части и детали не предлагаются к продаже, а носят исключительно информационный характер