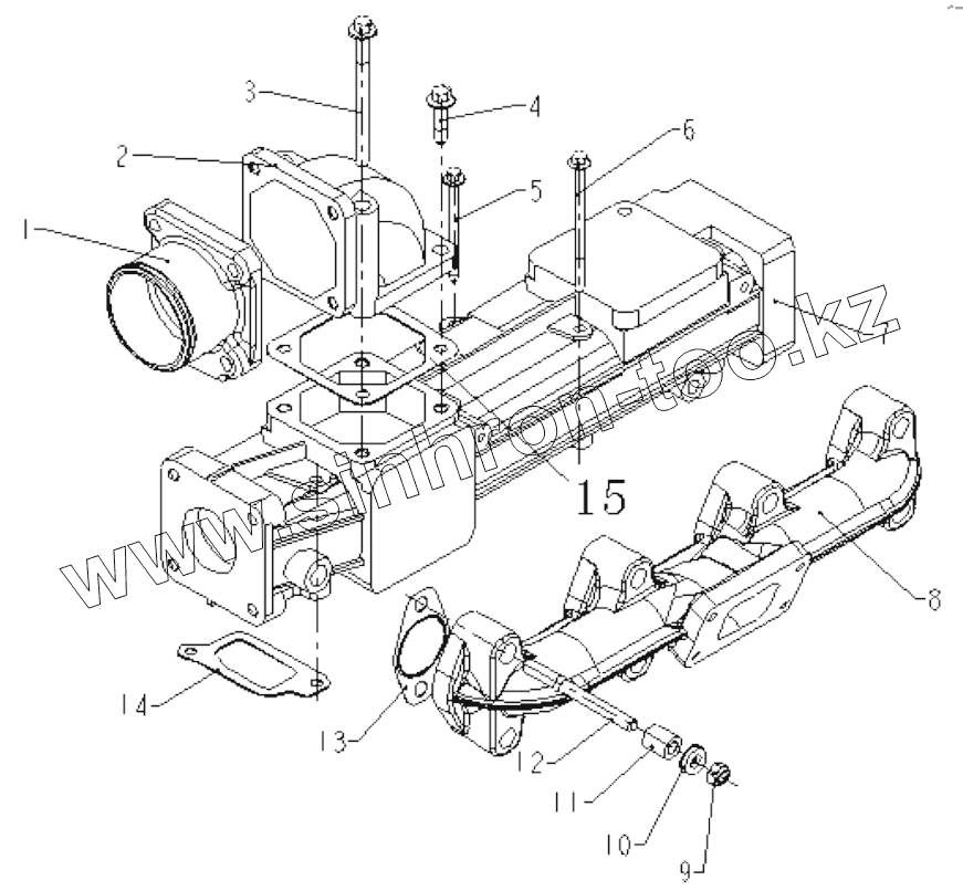
Каталог запасных частей к технике: FAW BF4M2012. CHARGE AIR PIPE/EXHAUST PIPE
1
1
1
2
3
4
5
6
7
7
8
9
9
10
11
12
13
14
15
| Позиция на иллюстрации | Заводской номер детали | Название детали | |
|---|---|---|---|
| 1 | 3750611-56D | Hexagon bolt | |
| 1 | 1008028-56D | Hexagon bolt | |
| 1 | 1008024-56D | Connecting pipe | |
| 2 | 1008023-84D | Elbow pipe | |
| 3 | 3750611-56D | Hexagon bolt | |
| 4 | 1009626-52D | Болт с шестигранной головкой и фланцем | |
| 5 | 1008602-56D | Hexagon bolt | |
| 6 | 1003631-52D | Болт с шестигранной головкой и фланцем | |
| 7 | 04283785 | Exhaust pipe | |
| 7 | 1008015-84D | Exhaust pipe | |
| 8 | 1008042-65D | Exhaust pipe | |
| 9 | 1008046-52D | Hexagon nut | |
| 9 | 01182036 | Hexagon nut | |
| 10 | 1008063A52D | Plain washer | |
| 11 | 1008073-52D | Spacer sleeve | |
| 12 | 04259760 | Stud | |
| 13 | 1008044-52D | Exhaust pipe gasket | |
| 14 | 1008017-56D | Charge air pipe gasket | |
| 15 | 3750131-56D | Gasket |
Содержащиеся в справочниках-каталогах запасные части и детали не предлагаются к продаже, а носят исключительно информационный характер