Каталог запасных частей к технике: Cummins QSX-15 I. BB1725 Gear Housing/Idler Gears
1
2
3
3
4
5
5
6
7
8
9
10
12
12
12
12
12
12
13
14
15
16
17
18
19
20
21
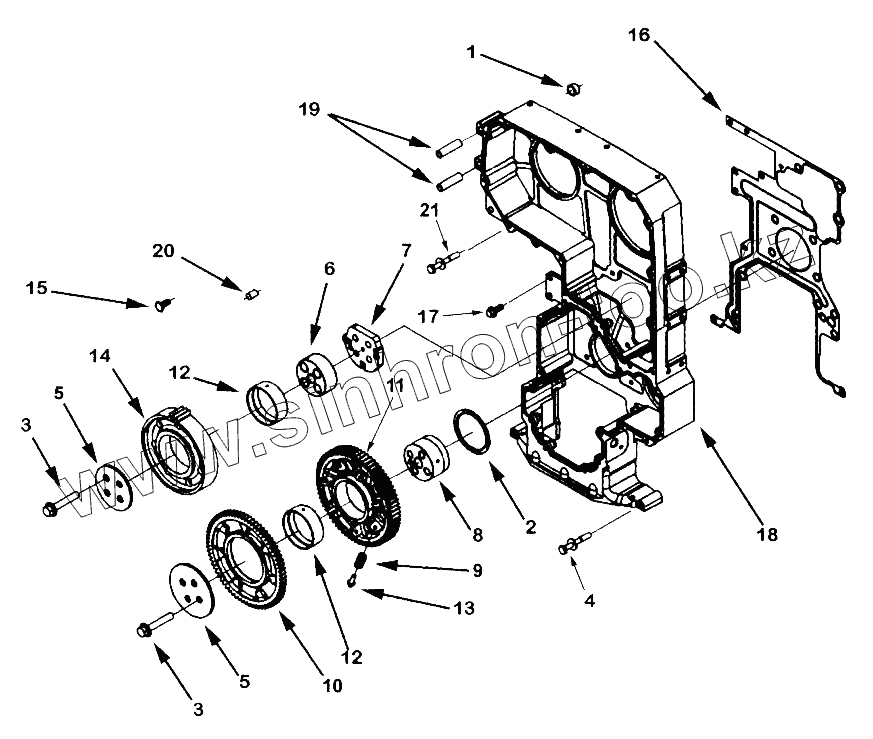
| Позиция на иллюстрации | Заводской номер детали | Название детали | |
|---|---|---|---|
| 3680546 | 3680546 | Gear, Idler | |
| 3681144 | 3681144 | Gear, Idler | |
| 4059396 | 4059396 | Housing, Gear | |
| 1 | 3678871 | Dowel, Ring | |
| 2 | 3681149 | Bearing, Thrust | |
| 3 | 3681174 | Screw, Hex Flange Head Cap | |
| 4 | 3412921 | Screw, Hex Flange Head Cap | |
| 5 | 3681273 | Retainer, Gear | |
| 6 | 3680239 | Shaft, Idler | |
| 7 | 3680240 | Spacer, Mounting | |
| 8 | 3680260 | Shaft, Idler | |
| 9 | 3680212 | Spring, Compression | |
| 10 | 3680544 | Gear, Idler | |
| 12 | 3680201 | Bushing | |
| 12 | 3680201 | Bushing | |
| 13 | 3900631 | Винт с шестигранной головкой | |
| 14 | 3681143 | Gear, Idler | |
| 15 | 3680866 | Screw, Hex Flange Head Cap | |
| 16 | 4089757 | Gasket, Gear Housing | |
| 17 | 3680882 | Screw, Captive Washer Cap | |
| 18 | 4059386 | Housing, Gear | |
| 19 | 3680086 | Spacer, Mounting | |
| 20 | 3900257 | Установочный штифт | |
| 21 | 3681268 | Screw, Captive Washer Cap |
Содержащиеся в справочниках-каталогах запасные части и детали не предлагаются к продаже, а носят исключительно информационный характер