Каталог запасных частей к технике: Cummins QSM-11 Tier 3. Cylinder Head PP8543
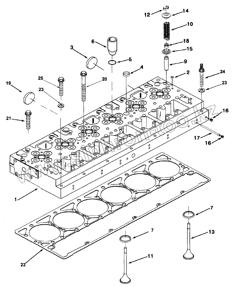
1
2
3
4
5
6
7
7
9
10
11
12
12
12
13
14
15
16
16
17
18
19
20
21
22
23
23
24
25
| Позиция на иллюстрации | Заводской номер детали | Название детали | |
|---|---|---|---|
| 3103482 | 3103482 | Head, Cylinder TLA | |
| 3028074 | 3028074 | Insert, Valve | |
| 3028073 | 3028073 | Insert, Valve | |
| 3028072 | 3028072 | Insert, Valve | |
| 3028071 | 3028071 | Insert, Valve | |
| 3417558 | 3417558 | Guide, Valve Stem | |
| 3800637 | 3800637 | Kit, Exhaust Valve | |
| 3800636 | 3800636 | Kit, Intake Valve | |
| 1 | 3103484 | Head, Cylinder | |
| 2 | 3007632 | Расширительная пробка | |
| 3 | 206741 | Plug, Expansion | |
| 4 | 3007635 | Plug, Expansion | |
| 5 | 3035026 | Seal, 0 Ring | |
| 6 | 3417717 | Sleeve, Injector | |
| 7 | 3090704 | Insert, Valve | |
| 9 | 3328786 | Guide, Valve Stem | |
| 10 | 3895860 | Spring, Valve | |
| 11 | 3417778 | Valve, Intake | |
| 12 | 3275354 | Collet, Valve | |
| 12 | 3275354 | Collet, Valve | |
| 13 | 3417779 | Valve, Exhaust | |
| 14 | 3883512 | Retainer, Valve Spring | |
| 15 | 3070072 | Guide, Valve Spring | |
| 16 | 3008465 | Заглушка трубки, 1/8 NPT резьба | |
| 17 | 3820749 | Plug, Orifice | |
| 18 | 4003966 | Seal, Valve Stem | |
| 19 | 3895479 | Plug, Expansion | |
| 20 | 3045850 | Screw, Hex Flange Head Cap | |
| 21 | 4022907 | Screw, Hex Flange Head Cap | |
| 22 | 4022500 | Gasket, Cylinder Head | |
| 23 | 3328328 | Washer, Sealing | |
| 24 | 3328637 | Screw, Hex Flange Head Cap | |
| 25 | 3328379 | Screw, Hex Flange Head Cap |
Содержащиеся в справочниках-каталогах запасные части и детали не предлагаются к продаже, а носят исключительно информационный характер