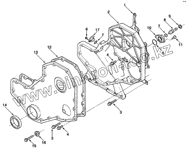
Каталог запасных частей к технике: Cummins-4BT3.9. FRONT GEAR COVER BP9727
1
2
3
3
4
4
5
6
6
7
7
8
9
10
10
11
12
13
13
14
15
16
17
| Позиция на иллюстрации | Заводской номер детали | Название детали | |
|---|---|---|---|
| 1 | 3916131 | Gasket, Gear Housing | |
| 2 | 3918872 | Housing, Gear | |
| 3 | 3900633 | Винт с шестигранным фланцевым цоколем | |
| 4 | 3900629 | Винт с шестигранным фланцевым цоколем | |
| 5 | 3915772 | Уплотнение, прямоугольное кольцо | |
| 6 | 3913638 | Screw, Hex Flange Head Cap | |
| 7 | 3913994 | Уплотнение, О-кольцо | |
| 8 | 3903924 | Штифт, согласование по времени | |
| 9 | 3904849 | Стопорное кольцо | |
| 10 | 3913995 | Housing, Timing Pin | |
| 10 | 3905933 | Housing, Timing Pin | |
| 11 | 3907998 | Винт с круглой шляпкой | |
| 12 | 3914385 | Gasket, Gear Cover | |
| 13 | 3905203 | Cover, Gear | |
| 13 | 3903794 | Cover, Gear | |
| 14 | 3904353 | Комплект приборов для обслуживания переднего уплотнения | |
| 15 | 3901446 | Screw, Hex Flange Head Cap | |
| 16 | 3912772 | Retainer, Belt | |
| 17 | 3918179 | Plate, Cover |
Содержащиеся в справочниках-каталогах запасные части и детали не предлагаются к продаже, а носят исключительно информационный характер