Вернуться на главную
Поиск
Каталоги запчастей к технике
Двигатели
Cummins
Cummins-300-20
CP9590 Установка компрессора
Каталог запасных частей к технике: Cummins-300-20. CP9590 Установка компрессора
zoom-in
zoom-out
enlarge
shrink
circle-right
circle-left
file-text2
info
cart
Тип техники
Не выбрано
Легковые автомобили
Грузовые автомобили и прицепы
Автобусы
Сельхозтехника
Спецтехника
Двигатели
Мототехника
Марка
Не выбрано
BAW
Caterpillar
Cummins
DCEC
DongFeng
Doosan
FAW
Great Wall
Hitachi
HOWO
HSW
IVECO
Komatsu
LGMG
Perkins
Raywin
SDEC
Shaanxi
Valmet
Weichai
XINCHAI
YTO
Yuchai
ZF
Алтайдизель
Барнаултрансмаш
ВТЗ
ГАЗ
ЗиД
ЗМЗ
Камский автозавод
ММЗ
СМД
ТМЗ
УМЗ
ЧТЗ
ЮМЗ
ЯЗДА
ЯМЗ
Модель
Не выбрано
4B3.9-G2 (2010)
4ISBe-185 (2013)
6BTA5.9-C155 (2009)
6BTA5.9-C180 (2009)
6BTAA5.9-C180 (2013)
6ISBe-210 (2013)
6ISBe-270B (2013)
6ISBe-285 (2013)
6ISBe4-245 (2013)
6ISBe4-245 (Камский Автозавод-4308) (2013)
6ISBe4-300 (2013)
6ISLe-400-40 (Repto) (2013)
B180-20 (2008)
Cummins 310 (2010)
Cummins-300-20 (2008)
Cummins-4BT3.9 (1986)
ISF 2.8 (S3129T) (2012)
ISF 3.8 (S3154) (2012)
ISLe 310-30 (340-30, 375-30) (2008)
L325-20 (2010)
L340-20 (2010)
L375-20 (2010)
NT855-C280 BC III (2004)
QSM-11 Tier 3 (2015)
QSX-15 I (2010)
Серия ISMe (2010)
Схема
>
Не выбрано
1000010-E2512 Двигатель в сборе
AP9480 Идентификационная табличка
ВВ9091 Пробки
BB9110 Блок цилиндров
BB9200 Система охлаждения двигателя
BB9881 Корпус распределительных шестерен
BR9240 Система вентиляции картера
CC9274 Трубки охлаждающей жидкости компрессора
CF9130 Установка кондиционера
CF9135 Установка привода кондиционера
CH9087 Вспомогательный патрубок охлаждающей жидкости
CL9079 Подшипник передней опоры первичного вала коробки передач
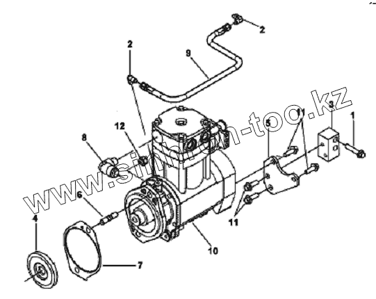
CP9590 Установка компрессора
DA9728 Гаситель крутильных колебаний
EA9089 Массовый провод
EB9051 Установка датчика моторного тормоза
EC9702 Термостат
EE9293 Генератор
EH9591 Установка кронштейна генератора
EM9223 Кронштейны передней подвески двигателя
EO9104 Датчик частоты вращения коленчатого вала
FA9310, FA9739 Установка привода вентилятора
FE9022 Блок соединительных патрубков компенсационного нагнетателя
FF9340 Топливный фильтр
FF9489 Трубка топливного фильтра
FH9413, FW9763, FW90025 Установка картера маховика
FP900091, FP99001 Топливный насос и его крепление
FS9724 Топливоподкачивающий насос
FT9158 Дренажные топливные трубки
FV9387 Установка электромагнитного клапана педали акселератора
GG9806 Крышка корпуса распределительных шестерен
HC9023 Детали для установки отопления
HD9161 Установка гидронасоса рулевого управления
IC9386, IM9717 Воздуховод и коллектор
LA9068 Кронштейны подъема двигателя
LC9227, LF9130 Маслоохладитель и масляный фильтр
LG90001 Масляный щуп
LP9725 Масляный насос
MS9067 Кронштейны троса привода рейки ТНВД
OB9377 Маслозаливная горловина
OP9352 Масляный картер
PA9001 Шкив
PP40333 Головка цилиндров, поршень, шатун, газораспределительный механизм
PP98459 Трубопровод крышки головки цилиндров
PP98838 Трубки топливные высокого давления
PP99109 Турбокомпрессор
RL9732 Коромысло клапана и штанги толкателей
RP9071 Газоотводящий штуцер двигателя
SD9112 Датчик аварийного давления масла
SD9113 Датчик температуры охлаждающей жидкости
SM9772, ST9344 Стартер в сборе и его крепление
TB91403 Выпускной коллектор
TK9022 Пробка системы охлаждения
TP97236 Установка трубопроводов смазки турбокомпрессора
VC9221 Крышка головки цилиндров
WF9094 Установка фильтра охлаждающей жидкости
WI9145 Патрубок системы охлаждения
WO9052 Патрубок системы охлаждения
WP9916 Установка натяжителя ремня
WP9918 Установка насоса системы охлаждения
WP9963 Ремень насоса системы охлаждения
1
2
2
3
4
5
6
7
8
9
10
11
11
12
Позиция на иллюстрации
Заводской номер детали
Название детали
1
A3901757
Болт
2
C3415333
Штуцер угловой
3
C3415606
Блок разделительный
4
C3415607
Шестерня компрессора
5
C3934079
Кронштейн компрессора
6
C3937122
Шпилька
7
C3940245
Прокладка уплотнительная
8
C3976749
Штуцер угловой в сборе
9
C3976797
Шланг компрессора
10
C4936535
Компрессор в сборе
11
Q1841030
Болт М10х30
12
Q32012
Гайка М12
Содержащиеся в справочниках-каталогах запасные части и детали не предлагаются к продаже, а носят исключительно информационный характер
Дополнительная информация
×
Название:
Номер:
Примечание: