Каталог запасных частей к технике: Cummins 6ISLe-400-40 (Repto). Блок цилиндров
1
2
3
4
5
6
7
8
8
9
10
11
12
13
14
15
15
15
15
16
17
17
18
19
20
21
22
23
24
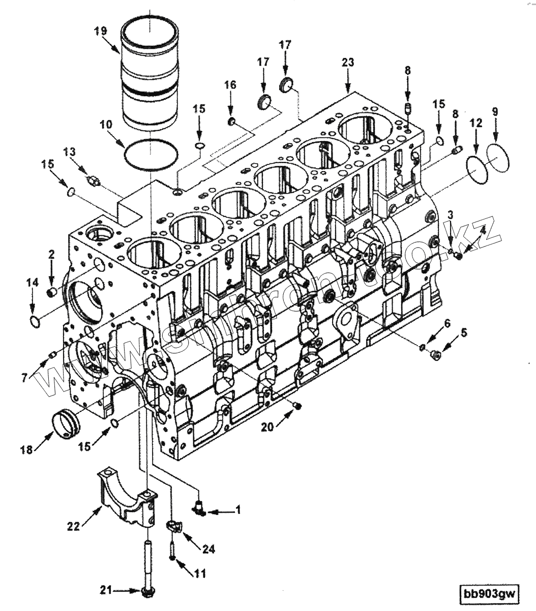
| Позиция на иллюстрации | Заводской номер детали | Название детали | |
|---|---|---|---|
| 4945772 | 4945772 | Блок цилиндров | |
| 3924449 | 3924449 | Регулировочная прокладка | |
| 3924448 | 3924448 | Регулировочная прокладка | |
| 3924447 | 3924447 | Регулировочная прокладка | |
| 3924446 | 3924446 | Регулировочная прокладка | |
| 3924445 | 3924445 | Регулировочная прокладка | |
| ВВ9081-08 | ВВ9081-08 | Блок цилиндров | |
| 3678921 | 3678921 | Резьбовая пробка | |
| 3678923 | 3678923 | Резьбовая пробка | |
| 1 | 3629497 | Draincock | |
| 2 | 3008468 | Заглушка трубки | |
| 3 | 3678912 | Кольцевое уплотнение | |
| 4 | 3678922 | Пробка резьбовая | |
| 5 | 3678924 | Пробка резьбовая | |
| 6 | 3678925 | Уплотнение, О-кольцо | |
| 7 | 3900257 | Установочный штифт | |
| 8 | 3901846 | Pin, Dowel | |
| 9 | 3901969 | Расширительная пробка | |
| 10 | 3907177 | Уплотнительное кольцо прямоугольного сечения | |
| 11 | 3909025 | Болт с фланцем и шестигранной головкой | |
| 12 | 3926048 | Уплотнительное кольцо | |
| 13 | 3966286 | Screw, Studded Hexagon Cap | |
| 14 | 143066 | Расширительная пробка | |
| 15 | 3004258 | Расширительная пробка | |
| 16 | 3900956 | Вогнутая заглушка | |
| 17 | 3905401 | Пробка | |
| 18 | 3945329 | Втулка | |
| 19 | 3948095 | Гильза цилиндра | |
| 20 | 4944725 | Guide, Tappet | |
| 21 | 3970810 | Болт | |
| 22 | 3970955 | Крышка коренного подшипника | |
| 23 | 4936029 | Блок цилиндров | |
| 24 | 4937305 | Форсунка охлаждения поршня |
Содержащиеся в справочниках-каталогах запасные части и детали не предлагаются к продаже, а носят исключительно информационный характер