Вернуться на главную
Поиск
Каталоги запчастей к технике
Двигатели
Cummins
6BTAA5.9-C180
BP 9091ZZ COVER, FRONT GEAR
Каталог запасных частей к технике: Cummins 6BTAA5.9-C180. BP 9091ZZ COVER, FRONT GEAR
zoom-in
zoom-out
enlarge
shrink
circle-right
circle-left
file-text2
info
cart
Тип техники
Не выбрано
Легковые автомобили
Грузовые автомобили и прицепы
Автобусы
Сельхозтехника
Спецтехника
Двигатели
Мототехника
Марка
Не выбрано
BAW
Caterpillar
Cummins
DCEC
DongFeng
Doosan
FAW
Great Wall
Hitachi
HOWO
HSW
IVECO
Komatsu
LGMG
Perkins
Raywin
SDEC
Shaanxi
Valmet
Weichai
XINCHAI
YTO
Yuchai
ZF
Алтайдизель
Барнаултрансмаш
ВТЗ
ГАЗ
ЗиД
ЗМЗ
Камский автозавод
ММЗ
СМД
ТМЗ
УМЗ
ЧТЗ
ЮМЗ
ЯЗДА
ЯМЗ
Модель
Не выбрано
4B3.9-G2 (2010)
4ISBe-185 (2013)
6BTA5.9-C155 (2009)
6BTA5.9-C180 (2009)
6BTAA5.9-C180 (2013)
6ISBe-210 (2013)
6ISBe-270B (2013)
6ISBe-285 (2013)
6ISBe4-245 (2013)
6ISBe4-245 (Камский Автозавод-4308) (2013)
6ISBe4-300 (2013)
6ISLe-400-40 (Repto) (2013)
B180-20 (2008)
Cummins 310 (2010)
Cummins-300-20 (2008)
Cummins-4BT3.9 (1986)
ISF 2.8 (S3129T) (2012)
ISF 3.8 (S3154) (2012)
ISLe 310-30 (340-30, 375-30) (2008)
L325-20 (2010)
L340-20 (2010)
L375-20 (2010)
NT855-C280 BC III (2004)
QSM-11 Tier 3 (2015)
QSX-15 I (2010)
Серия ISMe (2010)
Схема
>
Не выбрано
AD 9003ZZ PULLEY, ACCESSORY DRIVE
AH 9021ZZ AID, AIR HEATER STARTING
AP 90243ZZ APPROVAL, AGENCY
BP 9072ZZ BLOCK, ENGINE
BP 9091ZZ COVER, FRONT GEAR
BP 9710ZZ LEVER ROCKER
BP 9711ZZ FOLLOWER, CAM
CM 9016ZZ COVER, CAM FOLLOWER
CM 9701ZZ COVER, CAM FOLLOWER
DA 9208ZZ DAMPER, VIBRATION
DF 9051ZZ DRIVE, FRO GER TRA ACC
DL 9263ZZ LOCATION, DRAIN
EA 9118ZZ ACCESSORIES, ELECTRICAL
EC 9052ZZ THERMOSTAT
EE 9314ZZ ALTERNATOR
EH 97429ZZ DRIVE, ALTERNATOR
EH 97541ZZ MOUNTING, ALTERNATOR
EI 9701ZZ DRIVE, MECH TACH
EO 9106ZZ SENSOR, COO TEMPERATURE
EO 9107ZZ SENSOR, OIL PRESSURE
FA 9521ZZ DRIVE, FAN
FA 9702ZZ MOUNTING, FAN DRIVE
FE 9049ZZ PLUMBING, AIR FUEL CONTRO
FF 90058ZZ PLUMBING, FUEL FILTER
FF 90591ZZ FILTER, FUEL
FH 9714ZZ HOUSING, FLYWHEEL
FH 9784ZZ PLUMBING, FLYWHEEL HOUSIN
FP 90695ZZ COUPLING, FUEL PUMP
FP 91286ZZ PUMP, FUEL INJECTION
FP 92090ZZ SUPPORT, FUEL PUMP
FS 9869ZZ ACCESSORIES, FUEL SYSTEM
FS 9933ZZ PUMP, FUEL TRANSFER
FT 9161ZZ PLUMBING, FUEL
FV 9234ZZ VALVE, FUEL SHUTOFF
FW 9787ZZ FLYWHEEL
IC 9463ZZ MANIFOLD, AIR INTAKE
IC 9494ZZ CONNECTION, AIR TRANSFER
IC 9495ZZ CONNECTION, AIR INTAKE
IC 9716ZZ MOUNTING, INT CONNECTION
LA 9007ZZ BRACKET, LIFTING
LB 9101ZZ LABELING, ENGINE
LC 9020ZZ COOLER, ENGINE OIL
LG 90273ZZ GAUGE, OIL LEVEL
LP 9064ZZ PUMP, LUBRICATING OIL
OB 9206ZZ COVER, CYLINDER BLOCK
OB 9722ZZ COVER, CYLINDER BLOCK
OP 9005ZZ PAN, OIL
OP 9702ZZ MOUNTING, OIL PAN
PP 43106ZZ PARTS, PERFORMANCE
PP 97298ZZ MOUTING CYLINDER HEAD
PP 99561ZZ HEAD, CYLINDER
PP 99562ZZ TURBOCHARGER
SM 9702ZZ MOUNTING STARTING
SP 9005ZZ SPACER, FAN PILOT
SS 9164ZZ PAINT
ST 9423ZZ MOTOR, STARTING
TB 9766ZZ MOUNTING, EXHAUST MANIFOLD
TB 9823ZZ MANIFOLD, EXHAUST
TH 9114ZZ HOUSING, THERMOSTAT
TL 9106ZZ LEVER, THROTTLE
TO 90000ZZ TOOL, SERVICE
TP 97342ZZ PLUMBING, TURBOCHARGER
VC 9022ZZ COVER, VALVE
WH 9125ZZ VENT, ENGINE COOLANT
WI 9226ZZ CONNECTION, WATER INLET
WI 9701ZZ CONNECTION, WATER INLET
WP 9617ZZ PUMP, WATER
XS 9009ZZ CONNECTION, EXHAUST OUTLET
1
2
3
4
5
6
7
8
9
10
11
12
13
14
15
16
17
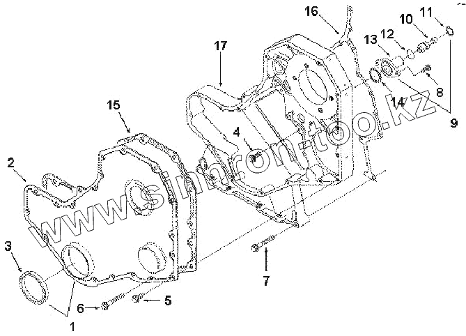
Позиция на иллюстрации
Заводской номер детали
Название детали
BP9091ZZ
BP9091ZZ
Cover, front gear
1
A3918674ZZ
Cover, gear
2
C4991279
Cover, gear
3
C4991305
Seal, oil
4
C3900633
Болт
5
C3900633
Болт
6
C3907998
Винт
7
C3913995ZZ
Housig, timig pi
8
C3903924
Штырь
9
C3904849
Кольцо стопорное
10
C3913994
Шайба уплотнительная
11
C3919683
Втулка
12
C3915772
Кольцо уплотнительное
13
C3924962
Screw, hex flange head cap
14
C3926846
Болт
15
C5267783
Housing, gear
16
D3918673
Gasket, gear cover
17
D3938156
Gasket, gear housing
Содержащиеся в справочниках-каталогах запасные части и детали не предлагаются к продаже, а носят исключительно информационный характер
Дополнительная информация
×
Название:
Номер:
Примечание: