Вернуться на главную
Поиск
Каталоги запчастей к технике
Двигатели
Cummins
6BTA5.9-C180
VC 9005ZZ Cover, Valve
Каталог запасных частей к технике: Cummins 6BTA5.9-C180. VC 9005ZZ Cover, Valve
zoom-in
zoom-out
enlarge
shrink
circle-right
circle-left
file-text2
info
cart
Тип техники
Не выбрано
Легковые автомобили
Грузовые автомобили и прицепы
Автобусы
Сельхозтехника
Спецтехника
Двигатели
Мототехника
Марка
Не выбрано
BAW
Caterpillar
Cummins
DCEC
DongFeng
Doosan
FAW
Great Wall
Hitachi
HOWO
HSW
IVECO
Komatsu
LGMG
Perkins
Raywin
SDEC
Shaanxi
Valmet
Weichai
XINCHAI
YTO
Yuchai
ZF
Алтайдизель
Барнаултрансмаш
ВТЗ
ГАЗ
ЗиД
ЗМЗ
Камский автозавод
ММЗ
СМД
ТМЗ
УМЗ
ЧТЗ
ЮМЗ
ЯЗДА
ЯМЗ
Модель
Не выбрано
4B3.9-G2 (2010)
4ISBe-185 (2013)
6BTA5.9-C155 (2009)
6BTA5.9-C180 (2009)
6BTAA5.9-C180 (2013)
6ISBe-210 (2013)
6ISBe-270B (2013)
6ISBe-285 (2013)
6ISBe4-245 (2013)
6ISBe4-245 (Камский Автозавод-4308) (2013)
6ISBe4-300 (2013)
6ISLe-400-40 (Repto) (2013)
B180-20 (2008)
Cummins 310 (2010)
Cummins-300-20 (2008)
Cummins-4BT3.9 (1986)
ISF 2.8 (S3129T) (2012)
ISF 3.8 (S3154) (2012)
ISLe 310-30 (340-30, 375-30) (2008)
L325-20 (2010)
L340-20 (2010)
L375-20 (2010)
NT855-C280 BC III (2004)
QSM-11 Tier 3 (2015)
QSX-15 I (2010)
Серия ISMe (2010)
Схема
>
Не выбрано
AD 9003ZZ PULLEY, ACCESSORY DRIVE
AF 9257ZZ ADAPTER, FRONT DRIVE
AP 9707ZZ APPROVAL, AGENCY
BP 9072ZZ BLOCK, ENGINE
BP 9098ZZ COVER, FRONT GEAR
BP 9710ZZ LEVER ROCKER
BP 9711ZZ FOLLOWER, CAM
CC 9271ZZ PLUMBING, CPR COOLANT
CF 9146ZZ COMPRESSOR, REFRIGERANT
CI 9208ZZ ARRANGEMENT, CPR AIR
CI 9226ZZ ARRANGEMENT, CPR AIR INLE
CL 9128ZZ CLUTCH, REAR
CM 9016ZZ COVER, CAM FOLLOWER
CM 9701ZZ COVER CAM FOLLOWER
CP 9582ZZ COMPRESSOR, AIR
DA 9208ZZ DAMPER, VIBRATION
EA 9099ZZ ACCESSORIES, ELECTRICAL
EC 9052ZZ THERMOSTAT
EE 9314ZZ ALTERNATOR
EH 9774-03ZZ DRIVE, ALTERNATOR
EH97541ZZ MOUNTING, ALTERNATOR
EI 9701ZZ DRIVE, MECH TACH
EM 9311ZZ SUPPORT, FRONT ENGINE
EO 9176ZZ DEVICE, SIGNAL GENERATING
FA 9062ZZ DRIVE FAN
FA 9702ZZ MOUNTING, FAN DRIVE
FE 9066ZZ PLUMBING, AIR FUEL CONTRO
FF 90106ZZ PLUMBING, FUEL FILTER
FF 90117ZZ FILTER, FUEL
FH 9736ZZ HOUSING, FLYWHEEL
FP 90489ZZ PUMP, BASE FUEL
FP 90881ZZ COUPLING, FUEL PUMP
FS 9869ZZ ACCESSORIES, FUEL SYSTEM
FS 9933ZZ PUMP, FUEL TRANSFER
FT 9241ZZ PLUMBING, FUEL
HD 9196ZZ PUMP, AUXILIARY
LA 9007ZZ BRACKET, LIFTING
LB 9101ZZ Labeling Engine
LC 9020ZZ Cooler, Engine oil
LG 90273ZZ GAUGE, OIL LEVEL
LP 9064ZZ PUMP, LUBRICATING OIL
OB 9702ZZ COVER, CYLINDER BLOCK
OP 9005ZZ PAN, OIL
OP 9702ZZ MOUNTING, OIL PAN
PP 9995ZZ HEAD, CYLINDER
PP 40425ZZ PARTS, PERFORMANCE
PP 97298ZZ MOUTING CYLINDER HEAD
PP 98515ZZ TURBOCHARGER
RE 9102ZZ SUPPORT, REAR ENGINE
SM 9164ZZ MOUNTING, STARTING MOTOR
SS 9164ZZ PAINT
SS 9530ZZ KIT, ENGINE INSTALLATION
SS 9611ZZ KIT, ENGINE INSTALLATION
ST 9502ZZ MOTOR, STARTING
TB 9766ZZ MOUNTING EXHAUST MANIFO
TB 9792ZZ MANIFOLD EXHAUST
TB 91626ZZ ARRANGEMENT, TURBOCHARGER
TH 9037ZZ HOUSING, THERMOSTAT
TL 9103ZZ LEVER, THROTTLE
TO 90000ZZ TOOL, SERVICE
TP 97314ZZ PLUMBING, TURBOCHARGER
VC 9005ZZ Cover, Valve
WA 9760ZZ PLUMBING, AFT WATER
WH 9131ZZ VENT, ENGINE COOLANT
WI 9226ZZ CONNECTION, WATER INLET
WI 9701ZZ CONNECTION,WATER INLET
WP 9617ZZ PUMP, WATER
XS 9469ZZ CONNECTION, EXHAUST OUTLET
XS 9497ZZ CONNECTION, EXHAUST OUTLET
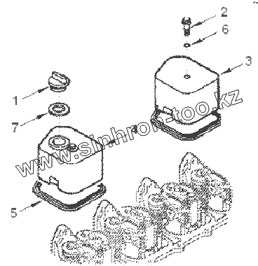
1
2
3
4
5
6
7
Позиция на иллюстрации
Заводской номер детали
Название детали
VC9005ZZ
VC9005ZZ
Cover, valve
1
C3901895
Пробка
2
C3907049
Screw, hex flage head ca
3
C3928404
Cover, valve
4
C3928405
Cover, valve
5
C3930906
Gasket, valve cover
6
C3935449
Isolator, oise
7
C3936876
Кольцо уплотнительное
Содержащиеся в справочниках-каталогах запасные части и детали не предлагаются к продаже, а носят исключительно информационный характер
Дополнительная информация
×
Название:
Номер:
Примечание: