Каталог запасных частей к технике: УралАЗ СПТС УРАЛ-32552. Топливный насос насосного агрегата
1
2
2
3
4
5
6
7
7
7
8
9
10
10
11
12
13
14
15
16
16
16
17
17
18
19
20
21
22
23
24
25
26
27
28
29
30
31
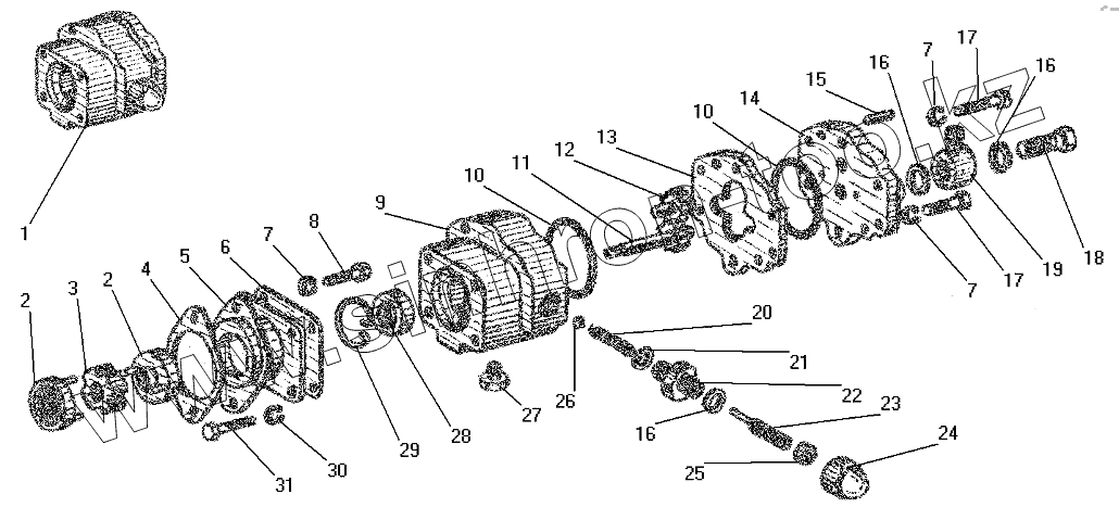
| Позиция на иллюстрации | Заводской номер детали | Название детали | |
|---|---|---|---|
| 1 | ПЖД30А-1015251 | Насос топливный в сборе | |
| 2 | ПЖД30-1015265-20 | Полумуфта | |
| 3 | ПЖД30-1015269 | Муфта | |
| 4 | ПЖД30-1015270 | Прокладка электродвигателя | |
| 5 | ПЖД30-1015264 | Переходник | |
| 6 | ПЖД600-1015263 | Прокладка | |
| 7 | 1/05164/77 | Шайба 6 пружинная | |
| 8 | 1/09022/21 | Болт М6х16 | |
| 9 | ПЖД30-1015252-10 | Корпус топливного насоса | |
| 10 | ПЖД30-1015255 | Кольцо уплотнительное | |
| 11 | ПЖД30-1015260 | Шестерня ведущая | |
| 12 | ПЖД30-1015261 | Шестерня ведомая | |
| 13 | ПЖД30-1015254 | Проставка | |
| 14 | ПЖД30-1015253 | Крышка | |
| 15 | ПЖД30-1015674 | Штифт | |
| 16 | ПЖД30-1015672 | Кольцо уплотнительное | |
| 17 | 1/09025/21 | Болт М6х25 | |
| 18 | ПЖД30-1015281 | Болт топливопровода | |
| 19 | ПЖД30-1015282 | Угольник поворотный | |
| 20 | ПЖД30-1015275-11 | Пружина | |
| 21 | ПЖД30-1015673 | Кольцо уплотнительное | |
| 22 | ПЖД30-1015969-20 | Штуцер | |
| 23 | ПЖД30-1015271-11 | Винт регулировочный | |
| 24 | 4595631610 | Гайка М12х1,25 | |
| 25 | ПЖД30-1015274-11 | Гайка | |
| 26 | 4691173861 | Шарик 4,763-200 | |
| 27 | Д1-3913036 | Пробка | |
| 28 | ПЖД30-1015258 | Сальник | |
| 29 | ПЖД30-1015259 | Кольцо стопорное | |
| 30 | 1/11954/77 | Шайба 5 пружинная | |
| 31 | 1/09776/21 | Болт М5х12 |
Содержащиеся в справочниках-каталогах запасные части и детали не предлагаются к продаже, а носят исключительно информационный характер