Вернуться на главную
Поиск
Каталоги запчастей к технике
Автобусы
УралАЗ
СПТС УРАЛ-32552
Карданная передача
Каталог запасных частей к технике: УралАЗ СПТС УРАЛ-32552. Карданная передача
zoom-in
zoom-out
enlarge
shrink
circle-right
circle-left
file-text2
info
cart
Тип техники
Не выбрано
Легковые автомобили
Грузовые автомобили и прицепы
Автобусы
Сельхозтехника
Спецтехника
Двигатели
Мототехника
Марка
Не выбрано
Golden Dragon
Hyundai
Ikarus
Karosa
King Long
Neoplan
Yutong
ZF
АМАЗ
Богдан
ЗИЛ
КАВЗ
Камский автозавод
ЛАЗ
ЛЗГМП
ЛиАЗ
Нефтекамский автозавод
ПАЗ
УралАЗ
Модель
Не выбрано
СПТС УРАЛ-32552 (2010)
Схема
>
Не выбрано
Подвеска двигателя
Установка указателя уровня масла
Вентиляция картера
Установка агрегатов системы предпускового подогрева
Трубы и шланги системы предпускового подогрева
Котел предпускового подогревателя
Нагнетатель насосного агрегата
Топливный насос насосного агрегата
Основной топливный бак
Трубопроводы и шланги системы питания
Установка ручного насоса прокачки топлива
Привод акселератора
Тяга ручного останова двигателя
Фильтр воздушный
Установка воздушного фильтра
Установка системы питания двигателя воздухом
Установка трубы воздухозаборной
Система выпуска газов
Радиатор системы охлаждения
Расширительный бачок
Привод педалей сцепления и тормоза
Пневмопривод выключения сцепления
Установка бачка привода сцеплени
Цилиндр гидравлический
Установка управления коробкой передач
Картер и подвеска раздаточной коробки
Привод спидометра
Первичный вал раздаточной коробки
Промежуточный вал раздаточной коробки и привод спидометра
Вал привода переднего моста и дифференциал раздаточной коробки
Вал привода заднего моста раздаточной коробки
Управление и механизм переключения раздаточной коробки
Карданная передача
Карданный вал переднего моста
Промежуточный карданный вал
Карданный вал заднего моста
Картер переднего моста
Передний мост
Редуктор главной передачи
Проходной вал редуктора главной передачи
Дифференциал и полуось
Картер заднего моста
Привод блокировки межколесных дифференциалов
Механизм включения блокировки дифференциала
Буксирный прибор
Рама
Передний буфер и шкворни
Передняя подвеска
Передняя рессора
Задняя подвеска
Задняя рессора
Дополнительная рессора
Колесо и шина
Ступица колеса и тормозной барабан
Система регулирования давления воздуха в шинах
Редуктор лебедки ДЗК
Рулевое управление с рулевым механизмом 55557Я-3400020
Механизм рулевой с распределителем
Механизм рулевой
Распределитель гидроусилителя
Колесо и вал рулевого управления
Усилительный механизм
Насос гидроусилителя руля
Бак масляный рулевого механизма
Тяга рулевой трапеции
Тяга сошки рулевого управления
Рабочий тормоз
Цилиндр колесный в сборе
Колодка тормоза в сборе
Установка усилителей тормозов и модуляторов с АБС
Пневматический усилитель с главным тормозным цилиндром
Стояночный тормоз
Установка пневмопривода стояночного тормоза
Установка компрессора
Блок-картер компрессора
Головка и поршень компрессора
Установка агрегатов гидропневматического привода рабочих тормозов
Установка воздушных баллонов
Установка блока подготовки воздуха
Тормозной двухсекционный кран
Детали тормозного двухсекционного крана
Одинарный защитный клапан
Тройной защитный клапан
Установка клапана прицепа с защитным клапаном
Клапан управления тормозами прицепа
Кран управления
Установка модулятора
Вспомогательный тормоз
Система вспомогательного тормоза
Пневматические цилиндры вспомогательного тормоза
Пневматический кран
Установка регулятора тормозных сил
Установка двухмагистрального клапана
Установка фары, фонарей знака автопоезда, освещения подножек, габаритных и указателей поворота
Установка замка зажигания
Установка электрического сигнала
Установка аккумуляторных батарей
Установка задних осветительных приборов
Панель приборов
Щиток выключателей
Схема электрооборудования
Кабина в сборе
Опора кабины передняя
Опора кабины задняя
Механизм опрокидывания кабины
Изоляция мотоотсека наружная
Настил пола
Стеклоочиститель
Стекло ветровое
Омыватель ветрового стекла
Установка панели приборов
Обивка кабины
Установка наружной облицовки
Обивка крыши
Двери кабины
Замок двери
Cтеклоподъемник
Сиденье водителя
Установка системы отопления
Установка независимого отопителя
Установка шумоизоляции
Установка передних брызговиков
Установка подножек
Установка крыльев и брызговиков
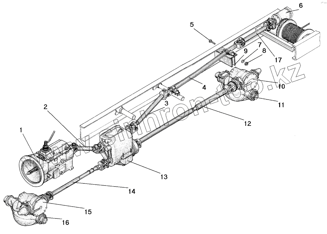
1
2
3
4
5
6
7
8
9
10
11
12
13
14
15
16
17
Позиция на иллюстрации
Заводской номер детали
Название детали
1
236У-1700010
Коробка передач с картером сцепления в сборе
2
375-2202010-02
Вал карданный промежуточный в сборе
3
375Д-4502010-01
Вал карданный привода лебедки передний в сборе
4
4320-4502014-10
Вал промежуточный в сборе
5
330009-П29
Болт М14х1,5х39
6
375-4511010
Лебедка с тросоукладчиком в сборе
7
252138-П2
Шайба 14 пружинная
8
250558-П29
Гайка М14-6Н
9
43206-4502058
Кронштейн
10
43206-2402010
Редуктор заднего моста
11
43206-2400010
Мост задний в сборе
12
43206Х-2201010
Вал карданный заднего моста в сборе
13
4320-1800012-20
Коробка раздаточная (для автомобилей с лебедкой)
14
375-2203010-02
Вал карданный переднего моста с шарнирами в сборе
15
4320ЯХ-2302010
Редуктор переднего моста в сборе
16
4320Я-2300010-03
Мост передний в сборе
17
375Д-4502011-01
Вал карданный привода лебедки задний в сборе
Содержащиеся в справочниках-каталогах запасные части и детали не предлагаются к продаже, а носят исключительно информационный характер
Дополнительная информация
×
Название:
Номер:
Примечание: