Каталог запасных частей к технике: ПАЗ-672М. Настил пола
1
2
3
4
5
6
7
8
9
10
11
12
13
14
15
16
17
18
19
| Позиция на иллюстрации | Заводской номер детали | Название детали | |
|---|---|---|---|
| РС502-3721112 | РС502-3721112 | Клемма | |
| 241820-П8 | 241820-П8 | Винт 4х18 | |
| 672-5107038 | 672-5107038 | Уплотнитель колонки рулевого управления | |
| 672-5107046-А | 672-5107046-А | Уголок крепления крышки люка над центральным тормозом в сборе | |
| 672-5109238 | 672-5109238 | Профиль облицовочный доски КП передний | |
| 672-5109230 | 672-5109230 | Профиль облицовочный доски КП | |
| 240818-П8 | 240818-П8 | Винт М4х12 | |
| 672-5107254-А | 672-5107254-А | Крышка люка полика водителя правая | |
| 672-5107044-А | 672-5107044-А | Крышка люка над центральным тормозом | |
| 672-5107020 | 672-5107020 | Кожух арки переднего колеса правый в сборе | |
| 672-5107021 | 672-5107021 | Кожух арки переднего колеса левый в сборе | |
| 672-5107164-А | 672-5107164-А | Доска над КП наклонная | |
| 672-5107220-0! | 672-5107220-0! | Доска КП правая в сборе | |
| 672-5107216-Л | 672-5107216-Л | Доска КП горизонтальная правая | |
| 672-5107226-А | 672-5107226-А | Доска КП горизонтальная левая | |
| 672-5107242-01 | 672-5107242-01 | Доска КП верхняя левая в сборе | |
| 220103-П8 | 220103-П8 | Винт М6х1х12 крепления держателя уплотнителя | |
| 220103-П8 | 220103-П8 | Винт М6х1х12 крепления держателя уплотнителя | |
| 240817-П8 | 240817-П8 | Винт М4х10 | |
| 240817-П8 | 240817-П8 | Винт М4х10 | |
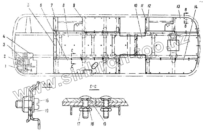
| 1 | 672-5107026 | Крышка лючка для доступа к гидроусилителю | |
| 2 | 672-5107040 | Держатель уплотнителя | |
| 3 | 672-5107256 | Крышка люка полика водителя левая | |
| 4 | 672-5107030-А | Полик водителя в сборе | |
| 5 | 210382-П | Болт М8 | |
| 6 | 672-5102018-А | Доска пола передняя левая | |
| 7 | 672-5102042 | Вставка настила пола передней двери | |
| 8 | 672-5102020-А | Доска пола средняя передняя | |
| 9 | 672-5102014-10 | Доска пола передняя правая в сборе | |
| 10 | 672-5102022-А | Доска пола средняя задняя в сборе | |
| 11 | 240822-П | Винт М4х25 | |
| 12 | 672-5102044 | Вставка настила пола задней двери | |
| 13 | 672-5102028-10 | Доска пола задняя правая в сборе | |
| 14 | 672-5102030-Б | Доска пола задняя левая | |
| 15 | 210382-П | Болт М8 | |
| 16 | 252155-П | Шайба диам 8 пружинная | |
| 17 | 250510-П | Гайка М8х1,25 | |
| 18 | 201420-П8 | Болт М6х20 | |
| 19 | 252134-П2 | Шайба пружинная диам 6 | |
| 20 | 652Б-5102024 | Вставка задней доски | |
| 22 | 672-5102000-10 | Уголок облицовочный заднего листа пола |
Содержащиеся в справочниках-каталогах запасные части и детали не предлагаются к продаже, а носят исключительно информационный характер