Каталог запасных частей к технике: ПАЗ-4234. Люки боковин кузова
1
2
2
2
2
3
4
4
4
5
5
5
6
6
7
8
9
9
9
10
10
10
11
12
12
13
14
15
15
16
17
18
19
20
21
22
22
23
23
24
24
25
25
26
26
27
28
29
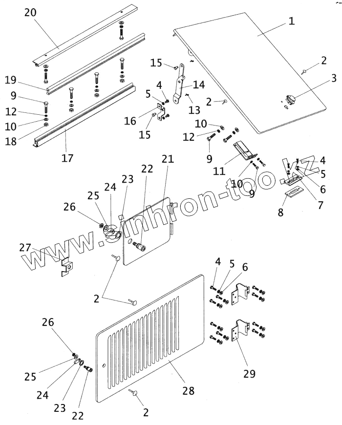
| Позиция на иллюстрации | Заводской номер детали | Название детали | |
|---|---|---|---|
| 3205-5413044 | 3205-5413044 | Кронштейн крепления упора крышки люка аккумуляторной батареи | |
| 3205-5413046 | 3205-5413046 | Кронштейн крепления упора | |
| А27-5606007-Б | А27-5606007-Б | Пружина | |
| 3205-5413128 | 3205-5413128 | Ось замка | |
| 4234-5413176 | 4234-5413176 | Накладка корпуса замка защитная | |
| 1 | 3205-5413014-10 | Панель крышки люка боковины | |
| 2 | 672-5413040 | Буфер резиновый | |
| 3 | 3205-5413170 | Облицовка замка крышки люка | |
| 4 | 224624-П29 | Винт М6х14 крепления панели спинки нижний | |
| 5 | 252004-П29 | Шайба диаметром 6 | |
| 6 | 252154-П29 | Шайба 6 | |
| 7 | 3205-5605060 | Упор замка | |
| 8 | 3205-5605062 | Пластина регулировочная | |
| 9 | 201418-П29 | Болт М6х16 | |
| 10 | 252004-П29 | Шайба диаметром 6 | |
| 11 | А27-5606000-Б | Замок дверки люка в сборе | |
| 12 | 252134-П29 | Шайба 6 | |
| 13 | 258024-П29 | Шплинт 2,5х16 | |
| 14 | 3205-5413150 | Упор | |
| 15 | 3205-5413156-10 | Палец крепления упора крышки люка | |
| 16 | 3205-5413048 | Кронштейн крепления крышки люка инструментального ящика | |
| 17 | 3205-5413028 | Профиль петли крышки люка боковины нижний | |
| 18 | 250508-П29 | Гайка М6 | |
| 19 | 3205-5413030 | Петля крышки люка боковины | |
| 20 | 3205-5413024-10 | Профиль петли крышки люка боковины верхний | |
| 21 | 3205-5413100 | Крышка люка топливного бака | |
| 22 | 3205-5413122 | Корпус замка | |
| 23 | 3205-5413130 | Гайка специальная М16 | |
| 24 | 3205-5413124 | Язык замка | |
| 25 | 3205-5413126 | Шайба стопорная | |
| 26 | 250508-П29 | Гайка М6 | |
| 27 | 3205-5413140 | Кронштейн крепления замка на крышке люка бензобака | |
| 28 | 3205-5413054 | Крышка переднего правого люка | |
| 29 | 3205-5413062 | Петля крышки переднего люка |
Содержащиеся в справочниках-каталогах запасные части и детали не предлагаются к продаже, а носят исключительно информационный характер