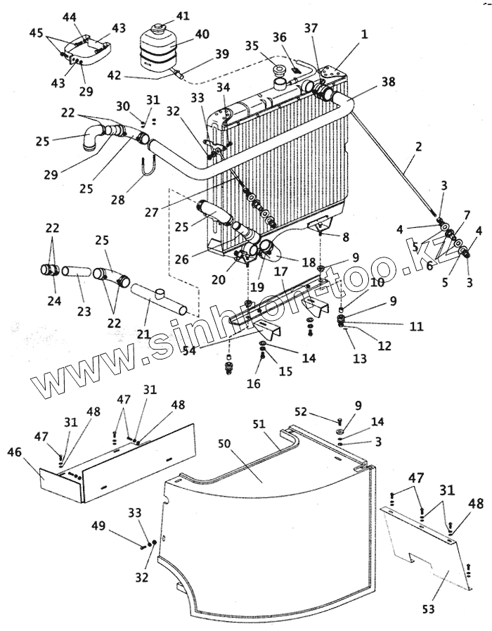
Каталог запасных частей к технике: ПАЗ-4230. Радиатор системы охлаждения с трубопроводами
1
2
3
3
3
4
4
5
5
6
7
8
9
9
9
10
11
12
13
14
14
15
16
17
18
19
20
21
22
22
22
23
24
25
25
25
25
26
27
28
29
29
30
31
31
31
31
32
32
33
33
34
35
36
37
38
39
40
41
42
43
43
44
45
46
47
47
47
48
48
48
49
50
51
52
53
54
| Позиция на иллюстрации | Заводской номер детали | Название детали | |
|---|---|---|---|
| 1 | 111.1301010 | Радиатор водяной | |
| 2 | 4230-1302034 | Тяга радиатора левая | |
| 3 | 250512-П29 | Гайка М10 | |
| 4 | 252136-П29 | Шайба 10 пружинная | |
| 5 | 3205-1308165 | Шайба 10 | |
| 6 | 672-1302094 | Прокладка | |
| 7 | 20-1001095 | Втулка распорная | |
| 8 | 290789-П8 | Болт М10х42 крепления радиатора к балке | |
| 9 | 672-1302045 | Подушка подвески радиатора | |
| 10 | 20-1302048 | Втулка болта крепления радиатора | |
| 11 | 672-1302033 | Шайба | |
| 12 | 250976-П29 | Гайка М10 | |
| 13 | 258039-П29 | Шплинт 3,2х20 | |
| 14 | 252006-П29 | Шайба 10 | |
| 15 | 252136-П29 | Шайба 10 пружинная | |
| 16 | 201495-П29 | Болт М10х20 | |
| 17 | 3205-1302010 | Балка крепления радиатора | |
| 18 | 51А-1303025 | Шланг соединительный | |
| 19 | АВА44-56/9С7-W1, ТОRRО.S40-60/9С7W1, ТВОС-049.001-05 | Хомут червячный | |
| 20 | ВС8-1 | Краник сливной | |
| 21 | 4230-1303046 | Труба отводящая | |
| 22 | АВА38-50/9С7-W1, ТОRRО. S35-50/9С7W1, ТВОС-049.001-04 | Хомут червячный | |
| 23 | 4230-1303017 | Патрубок | |
| 24 | 672-1303010 | Шланг радиатора | |
| 25 | 672-1303020 | Муфта соединительная радиатора подводящая | |
| 26 | 3205-70-1303043 | Патрубок | |
| 27 | 4230-1302035-10 | Тяга радиатора правая | |
| 28 | 3205-3403025 | Стремянка | |
| 29 | 4230-1303015 | Патрубок | |
| 30 | 250508-П29 | Гайка М6 | |
| 31 | 252134-П29 | Шайба 6 | |
| 32 | 250510-П29 | Гайка М8 | |
| 33 | 252155-П29 | Шайба 8 | |
| 34 | 201456-П29 | Болт М8х20 | |
| 35 | 52-1304010 | Пробка радиатора | |
| 36 | ТМ111 | Датчик аварийной температуры охлаждающей жидкости | |
| 37 | 3205-1303051 | Шланг подводящий боковой | |
| 38 | 4230-01-1303012 | Труба радиатора подводящая | |
| 39 | 3205-1311071-10 | Шланг | |
| 40 | 24-1311014 | Бачок расширительный | |
| 41 | 24-1311065 | Пробка расширительного бачка | |
| 42 | АВА13-20/9С7-W1 | Хомут червячный | |
| 43 | 3205-1311072 | Хомут | |
| 44 | 252154-П29 | Шайба 6 | |
| 45 | 201418-П29 | Болт М6х16 | |
| 46 | 4230-1302098 | Поддон радиатора задний | |
| 47 | 201416-П29 | Болт М6х16 | |
| 48 | 252004-П29 | Шайба диаметром 6 | |
| 49 | 201454-П29 | Болт М8х16 крепления ступицы вала | |
| 50 | 4230-1302010 | Кожух радиатора | |
| 51 | ПР-800 | Профиль ТУ 38-1051902-89 | |
| 52 | 201501-П29 | Болт М10х35 крепления отстойника | |
| 53 | 4230-1302014 | Панель нижняя | |
| 54 | 4230-1302070 | Кронштейн крепления радиатора |
Содержащиеся в справочниках-каталогах запасные части и детали не предлагаются к продаже, а носят исключительно информационный характер