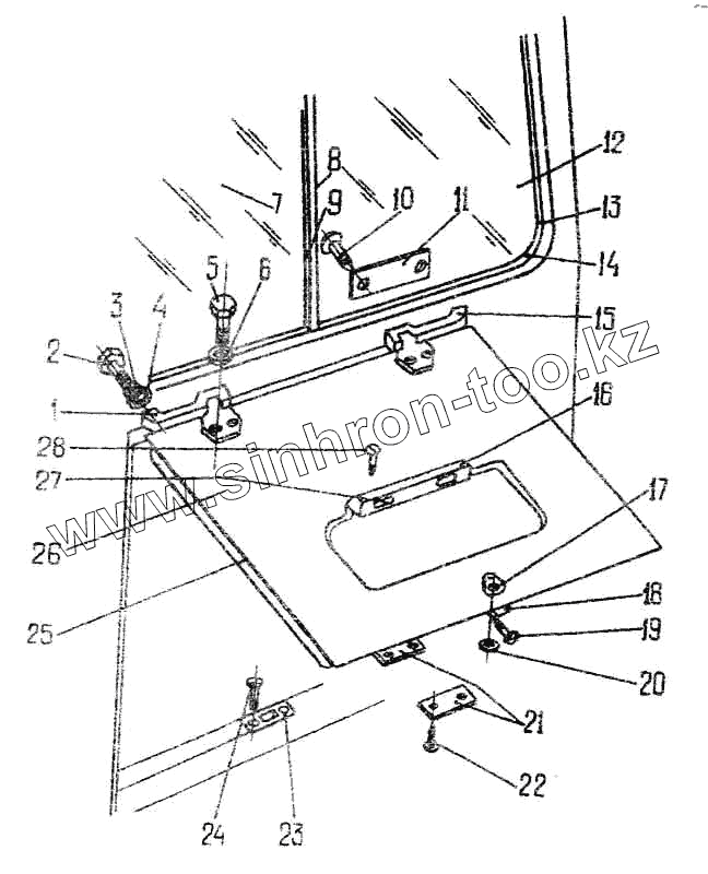
Каталог запасных частей к технике: ПАЗ-3205-110. Окно и крышка люка задка
1
2
3
4
5
6
7
8
9
10
11
12
13
14
15
16
17
18
19
20
21
22
23
24
25
26
27
28
| Позиция на иллюстрации | Заводской номер детали | Название детали | |
|---|---|---|---|
| 3205-5605062 | 3205-5605062 | Пластина регулировочная | |
| 3205-3717010 | 3205-3717010 | Крышка лючка | |
| 3205-5605034 | 3205-5605034 | Прокладка | |
| 3205-5605030 | 3205-5605030 | Прокладка | |
| 3205-5605032 | 3205-5605032 | Прокладка | |
| 1 | 3205-5313061-01 | Петля крышки моторного люка левая | |
| 2 | 201470-П29 | Болт М8х60 | |
| 3 | 201422-П29 | Болт М6х25 крепления рычага переднего валика акселератора | |
| 4 | 252135-П29 | Шайба 8 | |
| 5 | 252005-П29 | Шайба 8 | |
| 6 | 252134-П29 | Шайба 6 | |
| 7 | 3205-5603015 | Стекло окна задка левое | |
| 8 | 3205-5603018 | Профиль окна задка | |
| 9 | 3205-5603020 | Уплотнитель стекла окна задка | |
| 10 | 241820-П29 | Винт М4х18 | |
| 11 | 3205-5605048 | Заглушка | |
| 12 | 3205-5603014 | Стекло окна задка правое | |
| 13 | 3205-5603022 | Замок уплотнителя стекла задка | |
| 14 | 3205-5603024 | Замок уплотнителя стекла окна задка | |
| 15 | 3205-5313060-01 | Петля крышки моторного люка правая | |
| 16 | 3205-3717012 | Облицовка | |
| 17 | 3205-5413170 | Облицовка замка крышки люка | |
| 18 | А27-5606000-Б | Замок дверки люка в сборе | |
| 19 | 223064-П29 | Винт М6х14 | |
| 20 | 3205-5605070 | Шайба | |
| 21 | 3205-5604048 | Крышка лючка | |
| 22 | 224624-П29 | Винт М6х14 крепления панели спинки нижний | |
| 23 | 3205-5605060 | Упор замка | |
| 24 | 221578-П29 | Винт М6х14 | |
| 25 | 3205-5607010 | Уплотнитель заднего люка | |
| 26 | 3205-5604010 | Люк задний | |
| 27 | 15.3717 | Фонарь освещения номерного знака | |
| 28 | 240618-П29 | Винт 4х12 |
Содержащиеся в справочниках-каталогах запасные части и детали не предлагаются к продаже, а носят исключительно информационный характер