Каталог запасных частей к технике: ПАЗ-32053. Система вентиляции и отопления
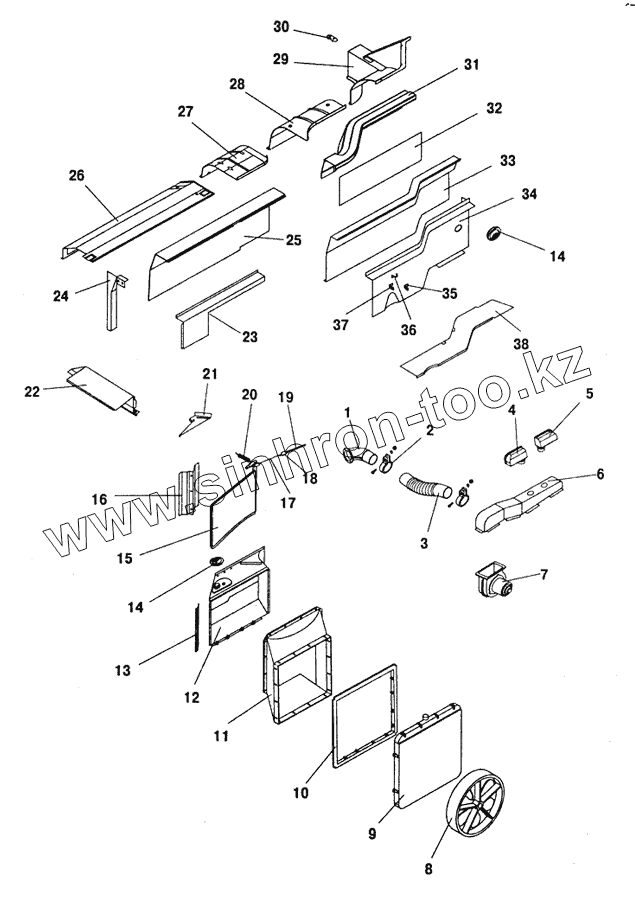
1
2
3
4
5
6
7
8
9
10
11
11
12
13
14
14
15
16
16
17
18
19
20
21
22
23
24
25
26
27
28
29
30
31
32
33
34
35
36
37
38
| Позиция на иллюстрации | Заводской номер детали | Название детали | |
|---|---|---|---|
| 3205-8104186 | 3205-8104186 | Ручка стекла | |
| 3205-8101015-01 | 3205-8101015-01 | Козырек кожуха отопления | |
| 3205-8101095 | 3205-8101095 | Ремень стяжной длинный | |
| 3205-8101099 | 3205-8101099 | Ремень стяжной короткий | |
| 3205-8101092 | 3205-8101092 | Планка крепления диффузора левая | |
| 3205-8101090 | 3205-8101090 | Планка крепления диффузора правая | |
| 3205-8101014 | 3205-8101014 | Панель кожуха отопления верхняя | |
| 3205-8101020 | 3205-8101020 | Панель кожуха отопления нижняя | |
| 3205-8101074 | 3205-8101074 | Уплотнитель дверки отопления | |
| 3205-8101134-01 | 3205-8101134-01 | Заслонка | |
| 3205-8101140-01 | 3205-8101140-01 | Направляющая | |
| 241820-П29 | 241820-П29 | Винт М4х18 | |
| 3205-8104188 | 3205-8104188 | Гайка крепления ручки стекла | |
| 3205-8104190 | 3205-8104190 | Шайба опорная | |
| 220052-П29 | 220052-П29 | Винт М4х12 | |
| 250462-П29 | 250462-П29 | Гайка М4 | |
| 252002-П29 | 252002-П29 | Шайба 4 | |
| 3205-8101038 | 3205-8101038 | Панель воздуховода передняя | |
| 3205-8101152 | 3205-8101152 | Панель продольного воздуховода передняя | |
| 3205-8101154 | 3205-8101154 | Панель продольного воздуховода средняя | |
| 3205-8101156 | 3205-8101156 | Панель продольного воздуховода задняя | |
| 3205-8102038 | 3205-8102038 | Гайка крепления дефростера | |
| 3205-8102057 | 3205-8102057 | Крышка люка | |
| 250464-П29 | 250464-П29 | Гайка М5 тяги диафрагмы | |
| 252133-П29 | 252133-П29 | Шайба 5 | |
| 3205-8102058 | 3205-8102058 | Прокладка | |
| 3205-8102018 | 3205-8102018 | Прокладка основания | |
| 220086-П29 | 220086-П29 | Винт М5х30 | |
| 250508-П29 | 250508-П29 | Гайка М6 | |
| 3205-8102080 | 3205-8102080 | Заглушка | |
| 201418-П29 | 201418-П29 | Болт М6х16 | |
| 201422-П29 | 201422-П29 | Болт М6х25 крепления рычага переднего валика акселератора | |
| 252004-П29 | 252004-П29 | Шайба диаметром 6 | |
| 250508-П29 | 250508-П29 | Гайка М6 | |
| 220102-П29 | 220102-П29 | Винт М6х10 | |
| 3205-8102078 | 3205-8102078 | Кольцо | |
| 1 | 3205-8102070 | Патрубок воздуховода | |
| 2 | 672-8102042-10 | Хомут крепления шланга | |
| 3 | 3205-8102040 | Шланг обдува ветрового стекла | |
| 4 | 3205-8102037-01 | Дефростер обдува ветрового стекла левый | |
| 5 | 3205-8102036-01 | Дефростер обдува лобового стекла правый | |
| 6 | 3205-8102050-01 | Воздуховод обдува ветровых стекол | |
| 7 | 3205-8102010 | Корпус вентилятора с электродвигателем | |
| 8 | 3205-1308010-10 | Вентилятор в сборе | |
| 9 | 3205-1301010 | Радиатор | |
| 10 | 3205-8101096 | Рамка в сборе | |
| 11 | 3205-8101078 | Диффузор в сборе | |
| 11 | 3205-8101080 | Диффузор | |
| 12 | 3205-8101010 | Кожух отопления в сборе | |
| 13 | 3205-8101024 | Стойка кожуха отопления | |
| 14 | 3205-8102066 | Дефростер обдува бокового левого окна | |
| 15 | 3205-8101060 | Дверка | |
| 16 | 3205-8101022 | Панель кожуха отопления боковая левая | |
| 16 | 3205-8101016 | Панель кожуха отопления боковая правая | |
| 17 | 3205-8109044 | Трос дверки отопления | |
| 18 | 652-1310042 | Трубка троса | |
| 19 | 672-1310460 | Цепочка дверки отопления | |
| 20 | 2062830 | Пружина оттяжная выключения сцепления | |
| 21 | 3205-8101026 | Заглушка поперечного воздуховода | |
| 22 | 3205-8101028 | Панель дополнительного воздуховода | |
| 23 | 3205-8101050 | Панель поперечного воздуховода передняя правая | |
| 24 | 3205-8101055 | Уголок вертикальный | |
| 25 | 3205-8101162-10 | Облицовка поперечного воздуховода правая | |
| 26 | 3205-8101144-20 | Панель нижнего поперечного воздуховода правая | |
| 27 | 3205-8101146-20 | Панель нижнего поперечного воздуховода средняя | |
| 28 | 3205-8101148-20 | Панель нижнего поперечного воздуховода левая | |
| 29 | 3205-8101150 | Панель воздуховода переходная | |
| 30 | 3205-8101222 | Крышка с замком | |
| 31 | 3205-8101160 | Облицовка поперечного воздуховода левая | |
| 32 | 3205-8101164 | Облицовка поперечного воздуховода левая нижняя | |
| 33 | 3205-8101042 | Панель поперечного воздуховода задняя | |
| 34 | 32053-8101038 | Панель воздуховода передняя | |
| 35 | 3205-1602015-10 | Кронштейн бачка | |
| 36 | 3205-8109026 | Стопор цепочки | |
| 37 | 3205-3505114 | Кронштейн бачка главного цилиндра | |
| 38 | 3205-8101054 | Панель поперечного воздуховода нижняя |
Содержащиеся в справочниках-каталогах запасные части и детали не предлагаются к продаже, а носят исключительно информационный характер