Каталог запасных частей к технике: ПАЗ-32053. Сиденье водителя
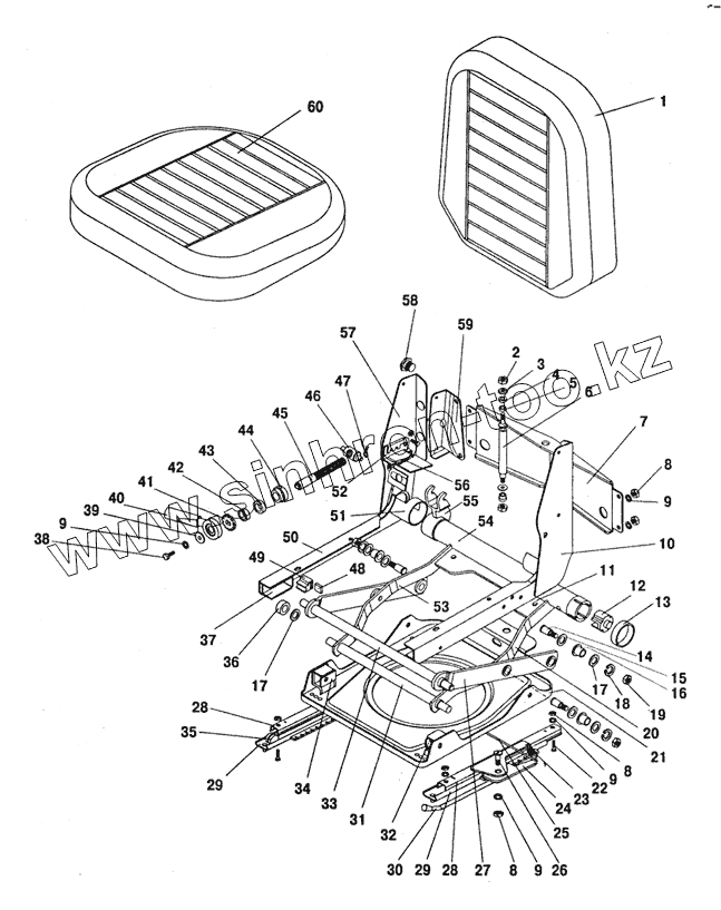
1
2
3
4
5
6
7
8
8
8
9
9
9
9
10
11
12
13
14
15
16
17
17
18
19
20
21
22
23
24
25
26
27
28
28
29
29
30
31
32
33
34
35
36
37
38
39
40
41
42
43
44
45
46
47
48
49
50
51
52
53
54
55
56
57
58
59
60
60
| Позиция на иллюстрации | Заводской номер детали | Название детали | |
|---|---|---|---|
| 3205-6802610-01 | 3205-6802610-01 | Обивка спинки сиденья водителя | |
| 3205-6803020 | 3205-6803020 | Основание подушки сиденья водителя | |
| 3205-6802310-01 | 3205-6802310-01 | Обивка подушки сиденья водителя | |
| 3205-6804313 | 3205-6804313 | Кронштейн крепления спинки сиденья водителя левый | |
| 3205-6804325 | 3205-6804325 | Гребенка регулировки наклона спинки сиденья водителя левая | |
| 3205-6804760 | 3205-6804760 | Кольцо | |
| 3205-6804533 | 3205-6804533 | Сухарь нижнего буфера ролика шарнира | |
| 3205-6804531 | 3205-6804531 | Буфер ролика шарнира подвески нижний | |
| 263005 | 263005 | Шарик 0,5 | |
| 3205-6804585 | 3205-6804585 | Буфер заднего шарнира подвески сиденья водителя | |
| 3205-6807012 | 3205-6807012 | Нижняя часть подставки сиденья водителя | |
| 3205-6807014 | 3205-6807014 | Боковая часть подставки сиденья водителя правая | |
| 3205-6807015 | 3205-6807015 | Боковая часть подставки сиденья водителя левая | |
| 3205-6803030 | 3205-6803030 | Держатель фланцевый | |
| 3205-6805020 | 3205-6805020 | Основание спинки сиденья водителя | |
| 3205-6805031 | 3205-6805031 | Подушка спинки сиденья водителя | |
| 1 | 3205-6805010-01 | Спинка сиденья водителя | |
| 2 | 251646-П29 | Гайка М10 | |
| 3 | 3205-6804675 | Шайба специальная амортизатора подвески сиденья водителя | |
| 4 | 3205-6804653 | Буфер наружный амортизатора | |
| 5 | 3205-6804656 | Буфер внутренний амортизатора | |
| 6 | 611-6809010 | Амортизатор | |
| 7 | 3205-6804643 | Поперечина крепления амортизатора подвески сиденья водителя | |
| 8 | 250510-П29 | Гайка М8 | |
| 9 | 252135-П29 | Шайба 8 | |
| 10 | 3205-6804511 | Боковина подвески сиденья левая | |
| 11 | 3205-6804581 | Усилитель заднего шарнира подвески сиденья | |
| 12 | 3205-6804627 | Держатель торсиона подвески сиденья водителя | |
| 13 | 3205-6804592 | Окантовка трубы торсиона подвески сиденья водителя | |
| 14 | 3205-6804614 | Ось соединения шарниров подвески сиденья водителя | |
| 15 | 293596-П29 | Шайба 10 | |
| 16 | 3205-6804617 | Втулка оси шарниров подвески сиденья водителя | |
| 17 | 3205-6804568 | Прокладка подвески сиденья водителя | |
| 18 | 252136-П29 | Шайба 10 пружинная | |
| 19 | 250613-П29 | Гайка М10 | |
| 20 | 3205-6804576 | Рычаг заднего шарнира подвески сиденья правый | |
| 21 | 3205-6804540 | Основание подвески сиденья водителя | |
| 22 | 201458-П29 | Болт М8х6gx25 | |
| 23 | 965-8406022 | Пружина | |
| 24 | 3205-6804140 | Стопор продольного перемещения сиденья | |
| 25 | 3205-6804163 | Стяжка механизма перемещения сиденья | |
| 26 | 3205-6804159 | Ось стопора механизма продольного положения сидения | |
| 27 | 3205-6804566 | Рычаг переднего шарнира подвески сиденья | |
| 28 | 3205-6804134 | Направляющая механизма продольного перемещения сиденья водителя верхняя | |
| 29 | 3205-6804138 | Направляющая механизма продольного перемещения сиденья водителя нижняя | |
| 30 | 69-1803083 | Ручка привода | |
| 31 | 3205-6804589 | Поперечина заднего шарнира | |
| 32 | 3205-6804552 | Направляющая ролика рычага подвески сиденья левая | |
| 33 | 3205-6804563 | Поперечина переднего шарнира подвески сиденья | |
| 34 | 3205-6804552 | Направляющая ролика рычага подвески сиденья левая | |
| 35 | 3205-6804125 | Ролик механизма перемещения сиденья водителя | |
| 36 | 3205-6804569 | Ролик шарнира подвески сиденья водителя | |
| 37 | 3205-6804525 | Направляющая ролика заднего шарнира | |
| 38 | 201456-П29 | Болт М8х20 | |
| 39 | 3205-6804751 | Подкладка ручки регулировки торсиона сиденья водителя | |
| 40 | 3205-6804756 | Ручка регулировки торсиона сиденья водителя | |
| 41 | 3205-6804749 | Звездочка винта регулировки торсиона | |
| 42 | 108903 | Подшипник подрессоривания сиденья водителя | |
| 43 | 3205-6804681 | Прокладка ручки регулировки торсиона сиденья водителя | |
| 44 | 3205-6804741 | Ограничитель винта регулировки торсиона сиденья водителя | |
| 45 | 3205-6804665 | Винт регулировки торсиона подвески сиденья водителя | |
| 46 | 3205-6804683 | Втулка скользящая винта регулировки торсиона сиденья водителя | |
| 47 | 258053-П29 | Шплинт 4х25 | |
| 48 | 3205-6804532. | Сухарь верхнего буфера ролика шарнира подвески | |
| 49 | 3205-6804530 | Буфер ролика шарнира подвески верхний | |
| 50 | 3205-6804519 | Балка подвески сиденья водителя левая | |
| 51 | 3205-6804592 | Окантовка трубы торсиона подвески сиденья водителя | |
| 52 | 3205-6804324 | Гребенка регулировки наклона спинки сиденья водителя правая | |
| 53 | 3205-6804577 | Рычаг заднего шарнира подвески сиденья левый | |
| 54 | 3205-6804573 | Труба торсиона подвески сиденья водителя | |
| 55 | 3205-6804625 | Вилка торсиона подвески сиденья водителя | |
| 56 | 51-3507048 | Пружина спинки | |
| 57 | 3205-6804514 | Боковина подвески сиденья водителя правая | |
| 58 | 3205-6804662 | Болт регулировки наклона спинки | |
| 59 | 3205-6804312 | Кронштейн крепления спинки сиденья водителя правый | |
| 60 | 3205-6803010 | Подушка сиденья водителя | |
| 60 | 3205-6803011 | Подушка сиденья водителя |
Содержащиеся в справочниках-каталогах запасные части и детали не предлагаются к продаже, а носят исключительно информационный характер