Каталог запасных частей к технике: ПАЗ-32053. Радиатор системы охлаждения
1
2
3
4
5
5
6
7
8
9
10
11
12
13
14
15
15
16
17
18
19
20
21
21
22
23
24
25
25
25
26
26
27
28
29
30
31
31
32
33
34
35
36
37
38
39
40
41
42
42
43
44
45
46
47
48
49
50
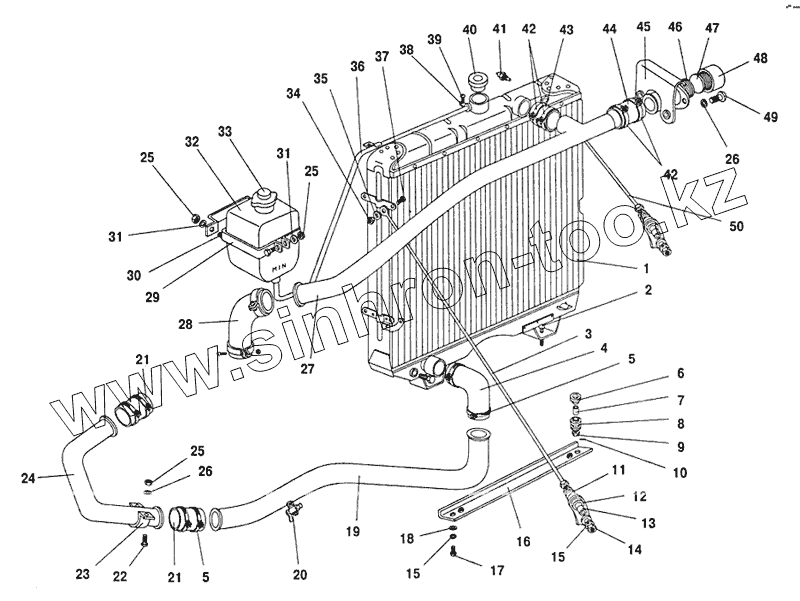
| Позиция на иллюстрации | Заводской номер детали | Название детали | |
|---|---|---|---|
| 251086-П29 | 251086-П29 | Гайка М5 | |
| 3205-1301006-10 | 3205-1301006-10 | Радиатор с валом вентилятора в сборе | |
| 1 | 3205-1301010 | Радиатор | |
| 2 | 290789П8 | Болт М10х42 | |
| 3 | 3205-1302035 | Тяга радиатора левая | |
| 4 | 51А-1303025 | Шланг соединительный | |
| 5 | 44-5619 | Хомут червячный | |
| 6 | 672-1302045 | Подушка подвески радиатора | |
| 7 | 20-1302048 | Втулка болта крепления радиатора | |
| 8 | 672-1302033 | Шайба | |
| 9 | 250976-П29 | Гайка М10 | |
| 10 | 258039-П29 | Шплинт 3,2х20 | |
| 11 | 3205-1308165 | Шайба 10 | |
| 12 | 672-1302094 | Прокладка | |
| 13 | 20-1001095 | Втулка распорная | |
| 14 | 250512-П29 | Гайка М10 | |
| 15 | 252136-П29 | Шайба 10 пружинная | |
| 16 | 3205-1302010 | Балка крепления радиатора | |
| 17 | 201495-П29 | Болт М10х20 | |
| 18 | 252006-П29 | Шайба 10 | |
| 19 | 3205-1303041-30 | Труба отводящая радиатора правая в сборе | |
| 20 | ВС8-1 | Краник сливной | |
| 21 | А-8286 | Шланг соединительный наливной боковой горловины радиатора | |
| 22 | 201420-П29 | Болт М6х20 | |
| 23 | 672-1303030 | Хомут крепления отводящей трубы радиатора | |
| 24 | 3205-1303040-10 | Труба радиатора отводящая левая | |
| 25 | 250508-П29 | Гайка М6 | |
| 26 | 252134-П29 | Шайба 6 | |
| 27 | 3205-1303012 | Труба радиатора подводящая | |
| 28 | 672-1303020 | Муфта соединительная радиатора подводящая | |
| 29 | 3205-1311072 | Хомут | |
| 30 | 201418-П29 | Болт М6х16 | |
| 31 | 252154-П29 | Шайба 6 | |
| 32 | 24-1311014 | Бачок расширительный | |
| 33 | 24-1311065 | Пробка расширительного бачка | |
| 34 | 250510-П29 | Гайка М8 | |
| 35 | 252155-П29 | Шайба 8 | |
| 36 | 3205-1311071-10 | Шланг | |
| 37 | 201456-П29 | Болт М8х20 | |
| 38 | 288002-П29 | Хомутик | |
| 39 | 220086-П29 | Винт М5х30 | |
| 40 | 52-1304010 | Пробка радиатора | |
| 41 | ТМ111 | Датчик аварийной температуры охлаждающей жидкости | |
| 42 | 44-56/9 | Хомут червячный | |
| 43 | 672-1303010 | Шланг радиатора | |
| 44 | 3205-1303051 | Шланг подводящий боковой | |
| 45 | 3205-1301175 | Кронштейн наливной горловины в сборе | |
| 46 | 3205-1301170 | Наливная горловина радиатора | |
| 47 | 652-1304060 | Уплотнитель пробки | |
| 48 | 652-1304050 | Пробка наливного патрубка радиатора с уплотнителем в сборе | |
| 49 | 224624-П29 | Винт М6х14 крепления панели спинки нижний | |
| 50 | 3205-1302034 | Тяга радиатора правая |
Содержащиеся в справочниках-каталогах запасные части и детали не предлагаются к продаже, а носят исключительно информационный характер