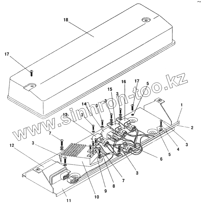
Каталог запасных частей к технике: ПАЗ-32053. Панель блока реле с транзисторным коммутатором
1
2
3
3
3
3
3
3
3
4
5
5
6
7
7
8
9
10
11
12
13
14
15
16
17
17
18
| Позиция на иллюстрации | Заводской номер детали | Название детали | |
|---|---|---|---|
| 1 | 3205-3724003-31 | Жгут проводов системы зажигания двигателя | |
| 2 | 3205-3724004 | Жгут проводов блока репе | |
| 3 | 220077-П29 | Винт кронштейна | |
| 4 | 652-6505122 | Хомут крепления двух трубок диам 12 | |
| 5 | 252134-П29 | Шайба 6 | |
| 6 | 903747 | Реле отключения аккумуляторной батареи | |
| 7 | 220080-П29 | Винт М5-6gх16 | |
| 8 | 252133-П29 | Шайба 5 | |
| 9 | 252037-П29 | Шайба 6 | |
| 10 | 1313734 | Транзисторный коммутатор | |
| 11 | 3205-3747012-10 | Панель дополнительных приборов | |
| 12 | РС-950-К | Реле указателей поворотов | |
| 13 | 903747 | Реле отключения аккумуляторной батареи | |
| 14 | 7383747 | Реле включения аварийной сигнализации | |
| 15 | 903747 | Реле отключения аккумуляторной батареи | |
| 16 | 903747 | Реле отключения аккумуляторной батареи | |
| 17 | 223064-П29 | Винт М6х14 | |
| 18 | 3205-3747020 | Панель облицовочная дополнительных приборов |
Содержащиеся в справочниках-каталогах запасные части и детали не предлагаются к продаже, а носят исключительно информационный характер