Каталог запасных частей к технике: ПАЗ-32053. Люк моторный передка
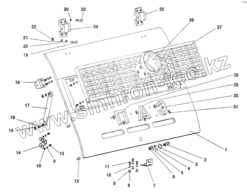
1
2
3
4
5
6
7
8
9
9
10
10
11
12
13
14
15
16
17
18
19
20
20
21
22
23
24
25
26
27
28
29
30
31
| Позиция на иллюстрации | Заводской номер детали | Название детали | |
|---|---|---|---|
| 11.8407010-10 | 11.8407010-10 | Пружина газовая с шарнирами в сборе | |
| 3205-5413120 | 3205-5413120 | Замок крышки моторного люка | |
| 3205-5313042 | 3205-5313042 | Решетка моторного люка | |
| 3205-5413128 | 3205-5413128 | Ось замка | |
| А27-5606007-Б | А27-5606007-Б | Пружина | |
| 3205-5313004 | 3205-5313004 | Крышка моторного люка с петлями в сборе Крышка моторного люка в сборе | |
| 1 | 3205-5313010 | Крышка переднего люка | |
| 2 | 3205-5413122 | Корпус замка | |
| 3 | 3205-5413130 | Гайка специальная М16 | |
| 4 | 3205-5413124 | Язык замка | |
| 5 | 3205-5413126 | Шайба стопорная | |
| 6 | 250508-Ш9 | Гайка М6-6Н | |
| 7 | 3205-5313026-10 | Упор замка моторного люка | |
| 8 | 250508-П29 | Гайка М6 | |
| 9 | 252004-П29 | Шайба диаметром 6 | |
| 10 | 252154-П29 | Шайба 6 | |
| 11 | 201418-П29 | Болт М6х16 | |
| 12 | 3205-5313036 | Буфер резиновой крышки моторного люка | |
| 13 | 224624-П29 | Винт М6х14 крепления панели спинки нижний | |
| 14 | 3205-5313024 | Кронштейн крепления упора на кузове | |
| 15 | 250610-П29 | Гайка М8 | |
| 16 | 252155-П29 | Шайба 8 | |
| 17 | 2108-6308010 | Пневмопружина с шарнирами | |
| 18 | 3205-5313022 | Кронштейн крепления упора на люке | |
| 19 | 201428-П29 | Болт М6х40 | |
| 20 | 252134-П29 | Шайба 6 | |
| 21 | 252037-П29 | Шайба 6 | |
| 22 | 250508-П29 | Гайка М6 | |
| 23 | 201424-П29 | Болт М6хЗ0 | |
| 24 | 3205-5313061-10 | Петля крышки люка в сборе | |
| 25 | 3205-5313060-10 | Петля крышки люка в сборе | |
| 26 | 3205-8212040 | Эмблема на решетке моторного люка | |
| 27 | 3205-5313044 | Решетка крышки переднего люка | |
| 28 | 3205-8212048 | Буква "П" эмблемы "ПАЗ" | |
| 29 | 3205-8212052 | Буква "А" эмблемы "ПАЗ" | |
| 30 | 3205-8212056 | Буква "3" эмблемы "ПАЗ" | |
| 31 | 3205-8212060 | Держатель |
Содержащиеся в справочниках-каталогах запасные части и детали не предлагаются к продаже, а носят исключительно информационный характер