Каталог запасных частей к технике: Neoplan N 516 SHD (MB) E3. COFFEE - MACHINE TM40 SPARE PARTS
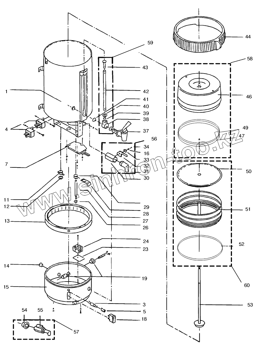
1
3
4
5
7
11
12
13
14
15
16
18
19
23
24
26
27
28
29
30
31
32
33
34
37
38
39
40
41
42
43
44
46
47
49
50
51
52
53
54
55
56
57
58
59
60
| Позиция на иллюстрации | Заводской номер детали | Название детали | |
|---|---|---|---|
| 11039247 | 11039247 | COFFEE-MACHINE | |
| 1 | 11039341 | HEXAGON NUT | |
| 3 | 11039366 | CONTROL LAMP | |
| 4 | 11039330 | RELAY | |
| 5 | LAMPRED | CAP FOR CONTROL LAMP RED | |
| 7 | 11039354 | PTC-CONTROLLER WITH WIRING | |
| 11 | 11039333 | THERMOSTATE MAIN HEATING | |
| 12 | THERMOSTATE | CAP F. THERMOSTATE | |
| 13 | DISTANCERING | DISTANCE RING WHITE | |
| 14 | PLASTICPLUG | PLASTIC PLUG | |
| 15 | 11039269 | BOTTOM COVER WHITE | |
| 16 | WASHER | washer | |
| 18 | 11039365 | ON/OFF SWITCH WHITE | |
| 19 | CABLEDUCT | CABLE DUCT WHITE W. STRAIN RELIEF | |
| 23 | INSTRUCTION | CONNECTION INSTRUCTION | |
| 24 | CONNECTIONCLAMP | CONNECTION CLAMP | |
| 26 | SPRING | SPRING | |
| 27 | PIN | PIN | |
| 28 | 11039268 | SPRING FOR TEMPERATURE LIMITER | |
| 29 | 11039334 | TEMPERATURE LIMITER | |
| 30 | 11039339 | BALL TAPE | |
| 31 | ANGLETUBE | ANGLE TUBE | |
| 32 | LEVERON/OFF | LEVER ON/OFF | |
| 33 | DISTANCEWASHER | DISTANCE WASHER F. LEVER | |
| 34 | OVALCROSSSCREW | OVAL CROSS SCREW | |
| 37 | 11039338 | COFFEE TAP | |
| 38 | T-CONNECTIONPIECE | T- CONNECTION PIECE TAB, LEVEL TUBE | |
| 39 | 14004552 | O-RING 13X10X1,5MM | |
| 40 | O-RING | O-RING | |
| 41 | 11039348 | O-RING 21X16X3 MM | |
| 42 | WATERLEVELTUBE | WATER LEVEL TUBE | |
| 43 | 11039352 | WATER TUBE PLUG | |
| 44 | 11039351 | LID LOCKING RING | |
| 45 | 11039362 | HANDLE F.LID | |
| 46 | 11039343 | LID | |
| 47 | 11039346 | WATERREPELLER | |
| 49 | 11039347 | BOND | |
| 50 | 11039340 | FILTER LID | |
| 51 | 11039329 | FILTER TIN | |
| 52 | 11039336 | O- RING F.FILTER TIN | |
| 53 | 11039335 | RISING PINE W.MEMBRANE | |
| 54 | ROSETTE | ROSETTE FOR TAP | |
| 55 | LEVER | LEVER | |
| 56 | 11039339 | BALL TAPE | |
| 57 | TAB | TAB (RESIDUUM) | |
| 58 | LID | LID | |
| 59 | 11039344 | WATER LEVEL TUBE CONSISTING OF: | |
| 60 | FILTERTIN | FILTER TIN |
Содержащиеся в справочниках-каталогах запасные части и детали не предлагаются к продаже, а носят исключительно информационный характер