Каталог запасных частей к технике: Neoplan N 516 SHD (MB) E2. COFFEE - MACHINE
2001.103.01
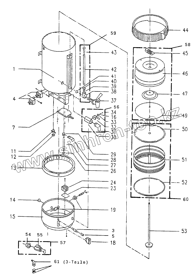
1
3
4
5
7
11
12
13
14
15
16
18
19
23
24
26
27
28
29
30
30
31
31
32
33
34
37
38
39
40
41
42
43
44
45
46
47
49
50
51
52
53
54
55
56
57
58
59
60
| Позиция на иллюстрации | Заводской номер детали | Название детали | |
|---|---|---|---|
| 2001.103.01 | 2001.103.01 | СОFFЕЕ-МАСНINЕ | |
| 1 | HEXAGONNUT | HEXAGON NUT | |
| 3 | CONTROLLAMP | CONTROL LAMP | |
| 4 | RELAY | RELAY | |
| 5 | CAPFORCONTROLLAMPRED | CAP FOR CONTROL LAMP RED | |
| 7 | PTC-CONTROLLERWITHWIRING | PTC- CONTROLLER WITH WIRING | |
| 11 | THERMOSTATEMAINHEATING | THERMOSTATE MAIN HEATING | |
| 12 | CAPF.THERMOSTATE | CAP F. THERMOSTATE | |
| 13 | DISTANCERINGWHITE | DISTANCE RING WHITE | |
| 14 | PLASTICPLUG | PLASTIC PLUG | |
| 15 | BOTTOMCOVERWHITE | BOTTOM COVER WHITE | |
| 16 | screw | screw | |
| 18 | ON/OFFSWITCHWHITE | ON/OFF SWITCH WHITE | |
| 19 | CABLEDUCTWHITEW.STRAINRELIEF | CABLE DUCT WHITE W. STRAIN RELIEF | |
| 23 | CONNECTIONINSTRUCTION | CONNECTION INSTRUCTION | |
| 24 | CONNECTIONCLAMP | CONNECTION CLAMP | |
| 26 | SPRINGFORTEMPERATURELIMITER | SPRING FOR TEMPERATURE LIMITER | |
| 27 | PINFORTEMPERATUREUMITERRED | PIN FOR TEMPERATURE UMITER RED | |
| 28 | SPRINGFORTEMPERATUREUMITER | SPRING FOR TEMPERATURE UMITER | |
| 29 | TEMPERATUREUMITER | TEMPERATURE UMITER | |
| 30 | BALLTAPE | BALL TAPE | |
| 30 | BALLTAPE | BALL TAPE | |
| 31 | ANGLETUBE | ANGLE TUBE | |
| 31 | ANGLETUBE | ANGLE TUBE | |
| 32 | LEVERON/OFF | LEVER ON/OFF | |
| 33 | DISTANCEWASHERF.LEVER | DISTANCE WASHER F. LEVER | |
| 34 | OVALCROSSSCREW | OVAL CROSS SCREW | |
| 37 | COFFEETAP | COFFEE TAP | |
| 38 | T-CONNECTIONPIECETAB,LEVELTUBE | T- CONNECTION PIECE TAB, LEVEL TUBE | |
| 39 | O-RING | O-RING | |
| 40 | O-RING | O-RING | |
| 41 | RUBBERRING | RUBBER RING | |
| 42 | WATERLEVELTUBE | WATER LEVEL TUBE | |
| 43 | WATERTUBEPLUG | WATER TUBE PLUG | |
| 44 | UDLOCKINGRING | UD LOCKING RING | |
| 45 | HANDLEF.UD | HANDLE F.UD | |
| 46 | LID | LID | |
| 47 | WATERREPELLER | WATERREPELLER | |
| 49 | ANTIVIBRATIONRINGF.LID | ANTIVIBRATION RING F. LID | |
| 50 | FILTERLID | FILTER LID | |
| 51 | FILTERTIN | FILTER TIN | |
| 52 | O-RINGF.FILTERTIN | O- RING F. FILTER TIN | |
| 53 | RISINGPINEW.MEMBRANE | RISING PINE W. MEMBRANE | |
| 54 | ROSETTEFORTAP | ROSETTE FOR TAP (RESIDUUM) | |
| 55 | LEVERON/OFF | LEVER ON/OFF | |
| 56 | TAP(RESIDUUM) | TAP (RESIDUUM) | |
| 57 | TAB | TAB (RESIDUUM) | |
| 58 | LID | LID | |
| 59 | WATERLEVELTUBE | WATER LEVEL TUBE | |
| 60 | FILTERTIN | FILTER TIN |
Содержащиеся в справочниках-каталогах запасные части и детали не предлагаются к продаже, а носят исключительно информационный характер